LEMON Manuals: Even more car manuals for everyone: 1960-2025
Home >> Chevrolet >> 2012 >> Colorado 2WD V8-5.3L >> Repair and Diagnosis >> Engine, Cooling and Exhaust >> Engine >> Specifications >> Thread Repair Specifications
April 5, 2026: LEMON Manuals is launched! Read the announcement.

Thread Repair Specifications




Thread Repair Specifications

Engine Block - Front/Rear Views










Engine Block - Left/Right Side Views










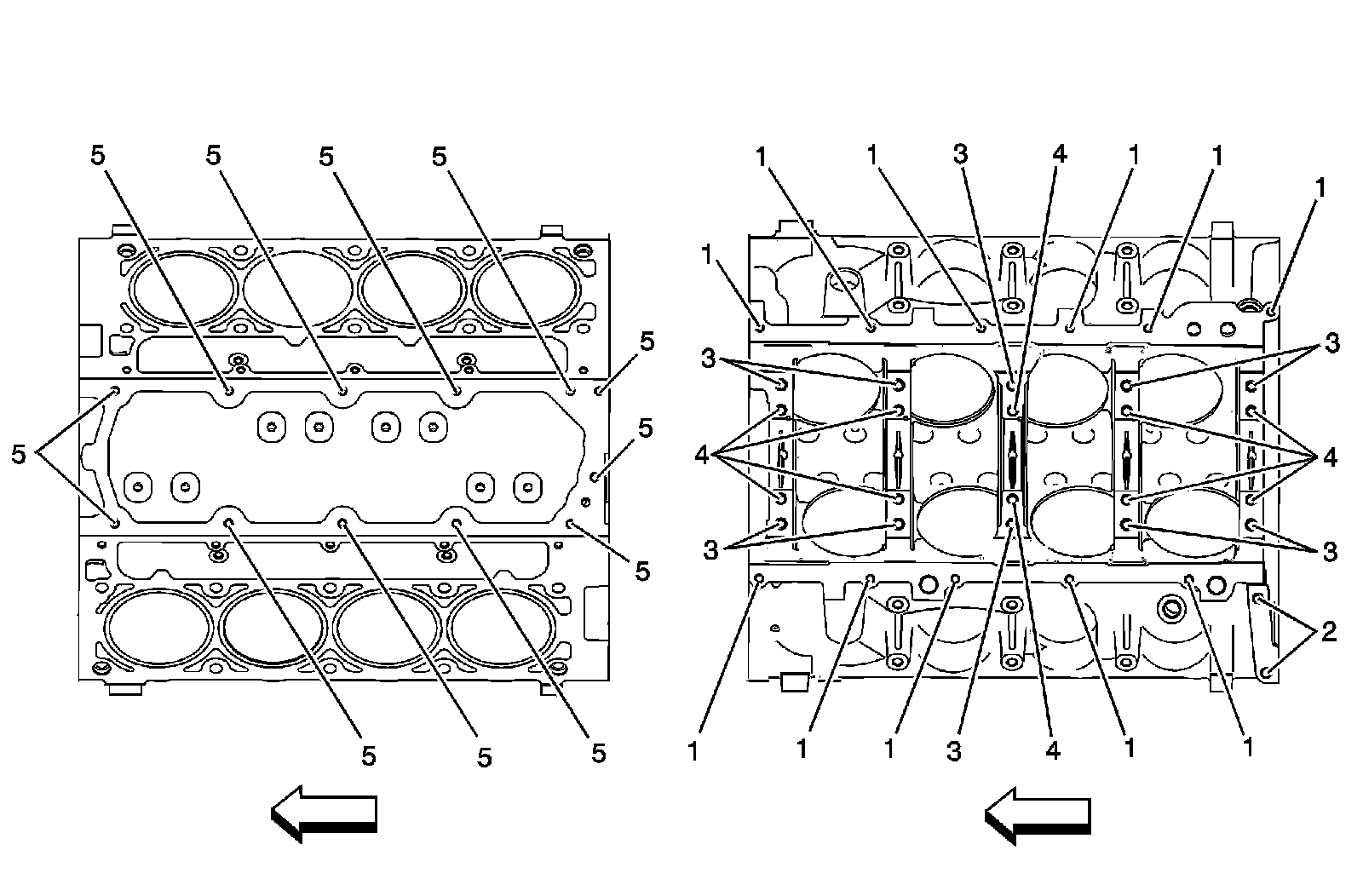
Engine Block - Top/Bottom Views










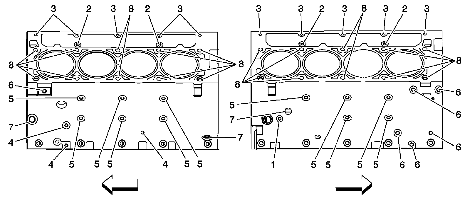
Cylinder Head - Top/End Views










Cylinder Head - Intake/Exhaust Side Views