LEMON Manuals: Even more car manuals for everyone: 1960-2025
Home >> Chevrolet >> 2012 >> Corvette Base, 2D Convertible, Automatic Trans >> Repair and Diagnosis (Single Page) >> Quick Lookups >> Wiring Diagrams >> Wiring Systems And Power Management - Component Connector End Views - A/C Clutch To Heated Seat Element (Driver) >> Component Connector End Views >> Fuel Pump Flow Control Module Relay X1 (LS9)
April 5, 2026: LEMON Manuals is launched! Read the announcement.

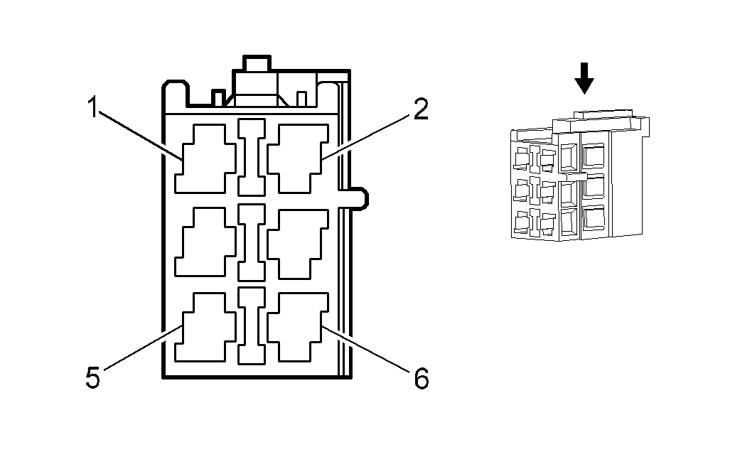
Fuel Pump Flow Control Module Relay X1 (LS9)

GM2662916Courtesy of
Connector Part Information
  • Harness Type: Instrument Panel Body
  • OEM Connector: 772-716-501
  • Service Connector: 13505275
  • Description: 6-Way F (BK)
Terminal Part Information
  • Terminated Lead: Service by Connector Assembly - 13505275
  • Release Tool: J-38125-556
  • Diagnostic Test Probe: J-35616-4A (PU)
  • Terminal/Tray: Not Available
  • Core/Insulation Crimp: Not Available
Fuel Pump Flow Control Module Relay X1 (LS9)

Pin Wire Circuit Function
1 - - Not Used
2 3.0 D-GN 999 Phase 3
3 3.0 RD/WH 1940 Battery Positive Voltage
4 3.0 L-BU 998 Phase 2
5 3.0 BK 650 Ground
6 3.0 RD 997 Phase 1