LEMON Manuals: Even more car manuals for everyone: 1960-2025
Home >> Chevrolet >> 2012 >> Corvette Base, 2D Convertible, Automatic Trans >> Repair and Diagnosis (Single Page) >> Quick Lookups >> Wiring Diagrams >> Wiring Systems And Power Management - Component Connector End Views - A/C Clutch To Heated Seat Element (Driver) >> Component Connector End Views >> Fuel Pump Flow Control Module Relay X2 (LS9)
April 5, 2026: LEMON Manuals is launched! Read the announcement.

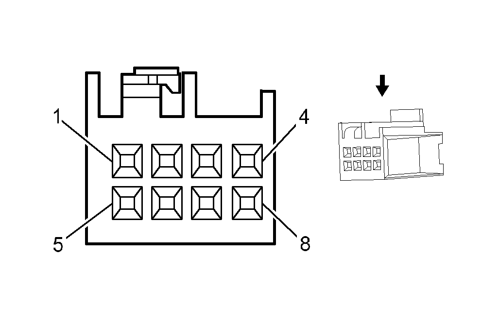
Fuel Pump Flow Control Module Relay X2 (LS9)

GM2662915Courtesy of
Connector Part Information
  • Harness Type: Instrument Panel Body
  • OEM Connector: 965601-1
  • Service Connector: 13505276
  • Description: 8-Way F (BK)
Terminal Part Information
  • Pins: 1, 2, 5
  • Terminated Lead: 13575587
  • Release Tool: J-38125-12A
  • Diagnostic Test Probe: J-35616-64B (L-BU)
  • Terminal/Tray: 928999-5/15
  • Core/Insulation Crimp: K/K
  • Pins: 3, 4
  • Terminated Lead: 13575585
  • Release Tool: J-38125-12A
  • Diagnostic Test Probe: J-35616-64B (L-BU)
  • Terminal/Tray: 928999-5/15
  • Core/Insulation Crimp: H/H
Fuel Pump Flow Control Module Relay X2 (LS9)

Pin Wire Circuit Function
1 0.8 D-BU 5122 High Voltage High PWM Signal
2 0.8 WH/BK 5123 High Voltage Low PWM Signal
3 0.35 D-GN 7493 High Speed GMLAN Serial Data (+) (3)
4 0.35 L-GN 7494 High Speed GMLAN Serial Data (-) (3)
5 0.8 PK 839 Ignition Voltage
6-8 - - Not Used