LEMON Manuals: Even more car manuals for everyone: 1960-2025
Home >> Chevrolet >> 2012 >> Corvette Base, 2D Convertible, Standard Trans, Trans Mfr CD 6L85M/MM6 >> Repair and Diagnosis >> Electrical >> Component Locations >> Electrical Component Locator - Powertrain Component Views >> Powertrain Component Views >> Manual Transmission Components- Right Side (MN6)
April 5, 2026: LEMON Manuals is launched! Read the announcement.

Manual Transmission Components- Right Side (MN6)

Manual Transmission Components- Right Side (MN6)

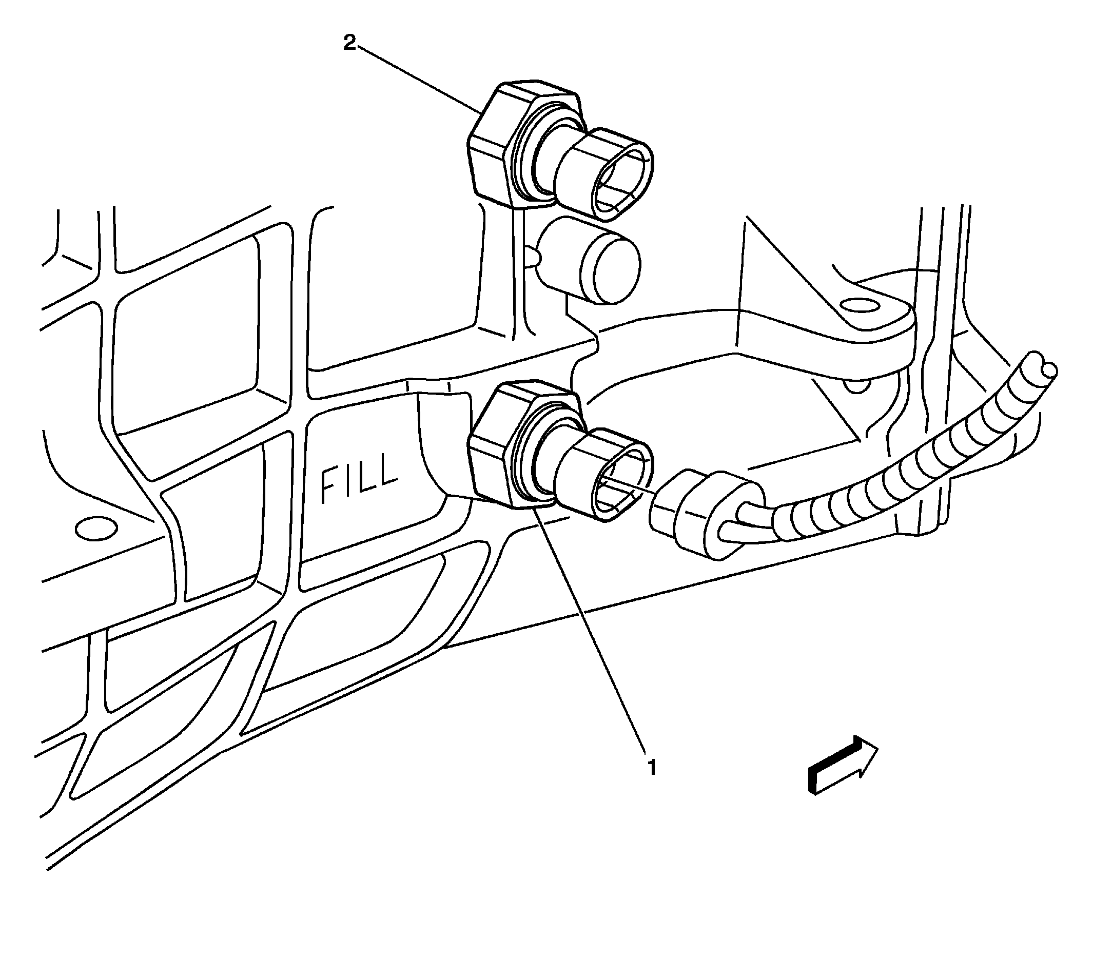
Component Name Callout
Manual Transmission Fluid Temperature Sensor 1
Backup Lamp Switch 2
Fig 1: Manual Transmission Components - Right Side (MN6)
GM901391Courtesy of GENERAL MOTORS COMPANY