LEMON Manuals: Even more car manuals for everyone: 1960-2025
Home >> Chevrolet >> 2012 >> Corvette Base, 2D Convertible, Standard Trans, Trans Mfr CD 6L85M/MM6 >> Repair and Diagnosis >> Quick Lookups >> Electrical Component Locations >> Electrical Component Locator - Passenger Compartment/Roof Component Views >> Passenger Compartment/Roof Component Views >> Antennas and Antenna Modules
April 5, 2026: LEMON Manuals is launched! Read the announcement.

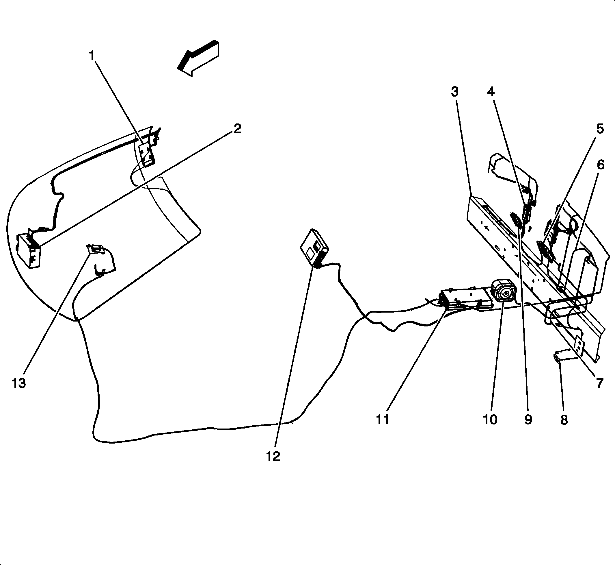
Antennas and Antenna Modules

Antennas and Antenna Modules

Component Name Callout
Cellular and Navigation Antenna (UE1) 1
Vehicle Communication Interface Module (VCIM) (UE1) 2
Radio Antenna Module- Case Ground 3
Radio Antenna Module- Right (C05 or CM7) 4
Radio Antenna Module- Left (except C05 or CM7) 5
Antenna (C05 or CM7) 6
Antenna (except C05 or CM7) 7
Antenna Ground 8
Radio Antenna Module- Right (except C05 or CM7) 9
Theft Deterrent Alarm Siren (UA2) 10
Digital Radio Receiver (except C05 or CM7 with U2K) / Traffic Information Receiver (except C05 or CM7 with U3Z) 11
Digital Radio Receiver (C05 or CM7 with U2K) / Traffic Information Receiver (C05 or CM7 with U3Z) 12
Navigation Antenna (U3U or U3Z) 13
Fig 1: Antennas and Antenna Modules
GM2206791Courtesy of GENERAL MOTORS COMPANY