LEMON Manuals: Even more car manuals for everyone: 1960-2025
Home >> Chevrolet >> 2012 >> Corvette V8-6.2L >> Repair and Diagnosis >> Diagrams >> Exploded Views >> Automatic Transmission/Transaxle >> Component Locator >> Lower Control Valve Body Assembly
April 5, 2026: LEMON Manuals is launched! Read the announcement.

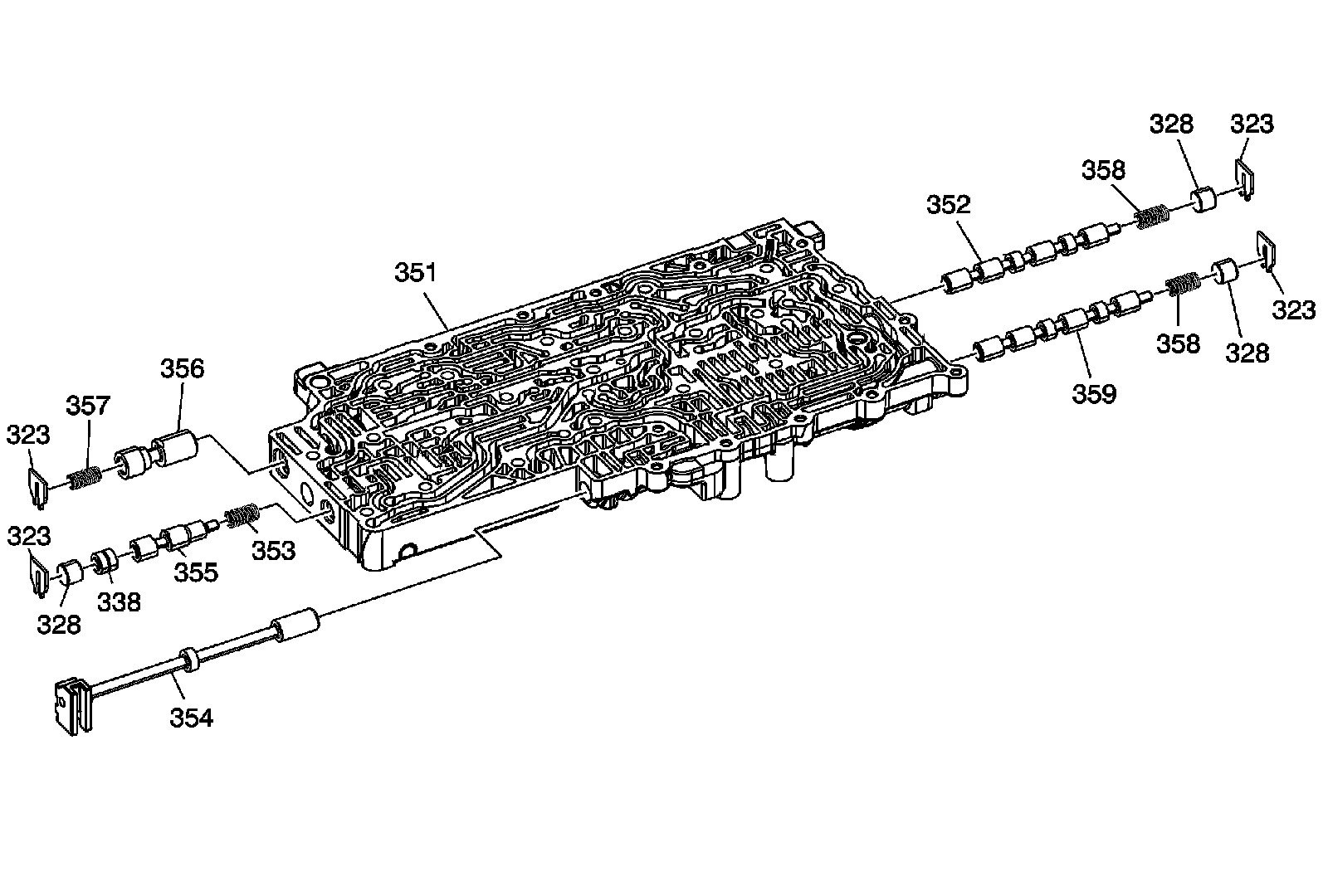
Lower Control Valve Body Assembly




Disassembled Views

Lower Control Valve Body Assembly




323 - Retainer
328 - Clutch Regulator Valve Bore Plug
338 - Shuttle Valve
351 - Control Valve Lower Body
352 - Clutch Select Solenoid Valve 3
353 - TCC Regulator Apply Valve Spring
354 - Manual Valve
355 - TCC Regulator Apply Valve
356 - Clutch Piston Dam Feed Regulator Valve
357 - Clutch Piston Dam Feed Regulator Valve Spring
358 - Clutch Select Solenoid Valve Spring
359 - Clutch Select Solenoid Valve 2