LEMON Manuals: Even more car manuals for everyone: 1960-2025
Home >> Chevrolet >> 2012 >> Malibu L4-2.4L >> Repair and Diagnosis >> Diagrams >> Connector Views >> Throttle Position Sensor
April 5, 2026: LEMON Manuals is launched! Read the announcement.

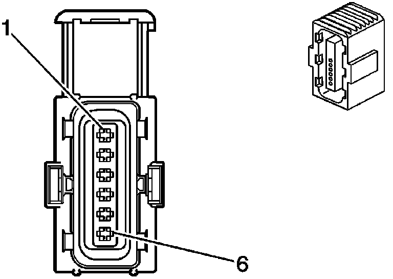
Throttle Position Sensor




Component Connector End Views

B107 Accelerator Pedal Position Sensor