LEMON Manuals: Even more car manuals for everyone: 1960-2025
Home >> Chevrolet >> 2012 >> Malibu L4-2.4L >> Repair and Diagnosis >> Powertrain Management >> Computers and Control Systems >> Relays and Modules - Computers and Control Systems >> Engine Control Module >> Diagrams >> Engine Control Module X2 (LE9)
April 5, 2026: LEMON Manuals is launched! Read the announcement.

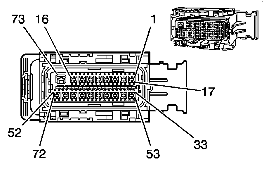
Engine Control Module X2 (LE9)




Component Connector End Views

K20 Engine Control Module X2 (LE9)