LEMON Manuals: Even more car manuals for everyone: 1960-2025
Home >> Chevrolet >> 2012 >> Malibu L4-2.4L >> Repair and Diagnosis >> Specifications >> Mechanical Specifications >> Engine >> System Specifications >> Thread Repair Specifications (LAP, LAT, LE5, LE8, LE9)
April 5, 2026: LEMON Manuals is launched! Read the announcement.

Thread Repair Specifications (LAP, LAT, LE5, LE8, LE9)




Thread Repair Specifications (LAP, LAT, LE5, LE8, LE9)

Engine Block- Front View










Engine Block- Back View










Engine Block- Right Side View










Engine Block- Left Side View










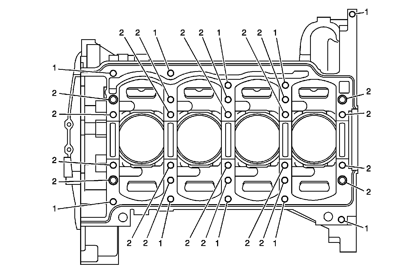
Engine Block- Bottom View










Engine Block- Top View










Lower Crankcase- Front View










Lower Crankcase- Back View










Lower Crankcase- Bottom View










Lower Crankcase- Right View










Lower Crankcase- Left View










Cylinder Head- Top View










Cylinder Head- Intake Manifold Deck View










Cylinder Head- Exhaust Manifold Deck View










Cylinder Head- Front View










Cylinder Head- Back View