LEMON Manuals: Even more car manuals for everyone: 1960-2025
Home >> Chevrolet >> 2013 >> Cruze L4-1.8L >> Repair and Diagnosis >> Heating and Air Conditioning >> Control Assembly >> Diagrams
April 5, 2026: LEMON Manuals is launched! Read the announcement.

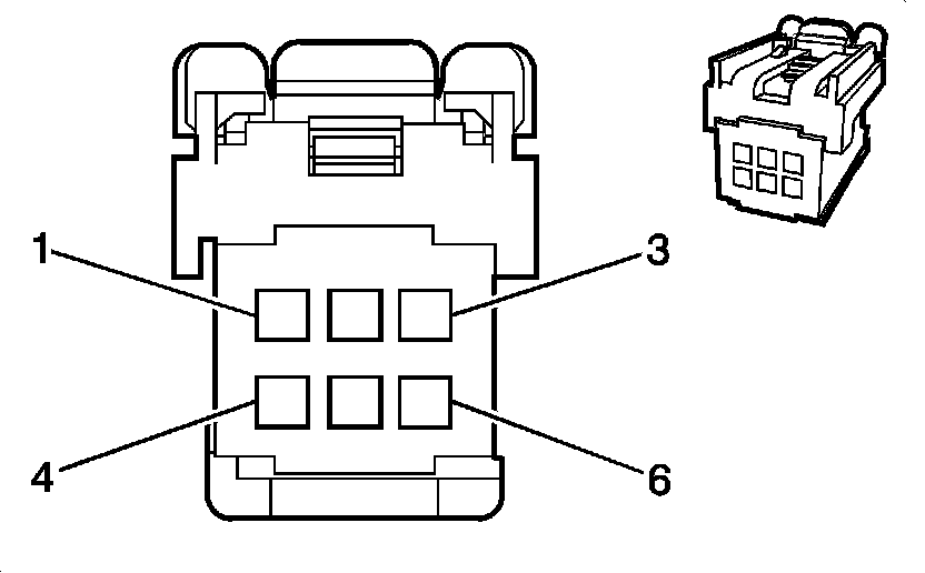
Control Assembly: Diagrams




Component Connector End Views

A26 HVAC Controls