LEMON Manuals: Even more car manuals for everyone: 1960-2025
Home >> Chevrolet >> 2013 >> Impala LS >> Repair and Diagnosis (Single Page) >> Quick Lookups >> Wiring Diagrams >> Wiring Systems And Power Management - Component Connector End Views - A/C Compressor Clutch To Heated Seat Control Module X1 >> Component Connector End Views >> Engine Control Module (ECM) X1 (LFX)
April 5, 2026: LEMON Manuals is launched! Read the announcement.

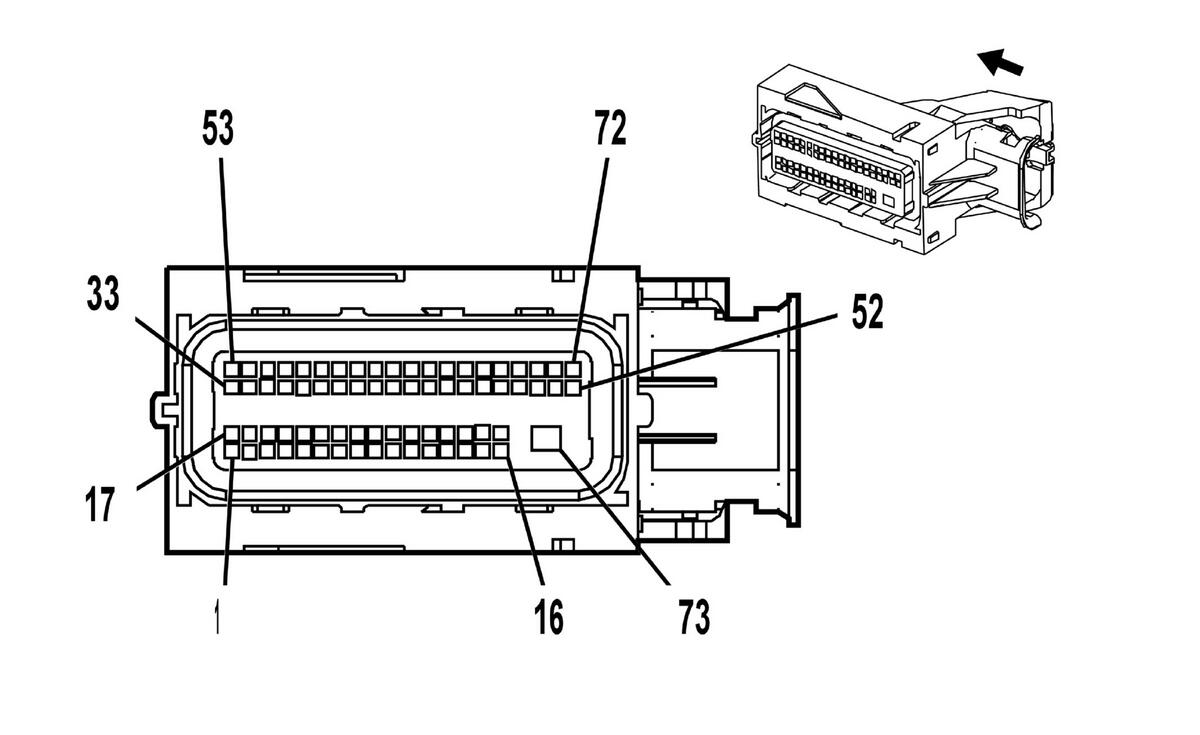
Engine Control Module (ECM) X1 (LFX)

GM2889071Courtesy of GENERAL MOTORS COMPANY
Connector Part Information
  • Harness Type: Engine
  • OEM Connector: 13872762
  • Service Connector: Pending
  • Description: 73-Way F 0.64, 2.8 Series, Sealed (BK with BU Terminal Position Assurance Lock)
Terminal Part Information
  • Pins: 3, 18, 19, 38-40, 47, 48, 52, 55, 56, 58, 62, 67, 68
  • Terminated Lead: 13588062
  • Release Tool: J-38125-12A
  • Diagnostic Test Probe: J-35616-35 (VT)
  • Terminal/Tray: Not Available
  • Core/Insulation Crimp: Not Available
  • Pins: 4-6, 9, 10, 14, 15, 21, 22, 25, 26, 30, 32-34, 42, 44, 46, 51, 53, 59, 66, 70, 72
  • Terminated Lead: 13588063
  • Release Tool: J-38125-12A
  • Diagnostic Test Probe: J-35616-35 (VT)
  • Terminal/Tray: Not Available
  • Core/Insulation Crimp: Not Available
  • Pin: 73
  • Terminated Lead: 13587406
  • Release Tool: J-38125-36
  • Diagnostic Test Probe: J-35616-35 (VT)
  • Terminal/Tray: Not Available
  • Core/Insulation Crimp: Not Available
Engine Control Module (ECM) X1 (LFX)

Pin Wire Circuit Function
1-2 - - Not Available
3 0.5 L-BU/BK 6455 Air Pressure Sensor Signal (NU6)
4 0.35 YE/WH 3200 Intake Air Pressure Sensor Signal
5 0.35 GY/WH 3201 5-Volt 1 Reference
6 0.5 OG/BK 380 A/C Refrigerant Pressure Sensor Signal
7-8 - - Not Available
9 0.5 D-GN 890 Fuel Tank Vapor Temperature Sensor Signal
10 0.5 GY 2709 5-Volt 1 Reference
11-13 - - Not Available
14 0.35 WH/BK 1164 5-Volt 4 Reference
15 0.5 D-BU 1161 APP Sensor 1 Signal
16-17 - - Not Available
18 0.5 L-BU 6456 Air Injection Reaction Pump Sensor #2 Supply Voltage
19 0.5 BN 6454 Air Injection Reaction Pump Sensor #2 Supply Voltage
20 - - Not Used
21 0.35 GY 2700 5-Volt 1 Reference
22 0.35 TN 5514 Low Reference
23-24 - - Not Available
25 03.5 PU 30 Fuel Level Sensor 1Signal
26 0.35 TN 2759 Sensor Low Reference
27-29 - - Not Available
30 0.35 BN 1271 Low Reference
31 - - Not Available
32 0.35 D-GN/WH 459 A/C Compressor Clutch Relay Control
33 0.35 TN 1274 5-Volt 3 Reference
34 0.35 L-BU 1162 APP Sensor 2 Signal
35-37 - - Not Available
38 0.5 WH 1579 Fuel Temperature/Composition Signal (FHS)
39 0.35 TN/BK 2500 High Speed GMLAN Serial Data Bus +
40 0.35 TN 2501 High Speed GMLAN Serial Data Bus -
41 - - Not Available
42 0.5 D-BU 473 High Speed Cooling Fan Relay Control
43 - - Not Available
44 0.35 D-GN/WH 465 Fuel Pump Relay Control
45 - - Not Available
46 0.35 BN/WH 419 MIL Control
47 0.35 WH 5359 5-Volt Reference
48 0.35 YE 5361 Stop Lamp Switch Signal
49-50 - - Not Available
51 0.35 PK 439 Ignition Voltage
52 0.5 RD/WH 540 Battery Positive Voltage
53 0.35 PU 1272 Low Reference
54 - - Not Available
55 0.35 BN 436 AIR Pump Relay Control (NU6)
56 0.5 PU 421 AIR Solenoid Supply Voltage (NU6)
57 0.5 WH 17 Brake Pedal Switch Signal
58 - - Not Available
59 0.35 D-GN 335 Low Speed Cooling Fan Relay Control
60-61 - - Not Available
62 0.5 PK/BK 5291 Ignition Voltage
63 0.35 PU/WH 6386 Starter Relay Control
64-65 - - Not Available
66 0.35 WH 1310 EVAP Canister Vent Solenoid Control
67 0.5 PK/BK 5292 Ignition Voltage
68 0.5 BN 5360 Low Reference
69 - - Not Available
70 0.5 D-BU 5985 Serial Data Wake-Up Signal
71 - - Not Available
72 0.35 YE 5991 Powertrain Relay Control
73 0.5 PK/BK 5290 Ignition Voltage