LEMON Manuals: Even more car manuals for everyone: 1960-2025
Home >> Chevrolet >> 2013 >> Impala V6-3.6L >> Repair and Diagnosis >> Powertrain Management >> Computers and Control Systems >> Crankshaft Position Sensor >> Diagrams
April 5, 2026: LEMON Manuals is launched! Read the announcement.

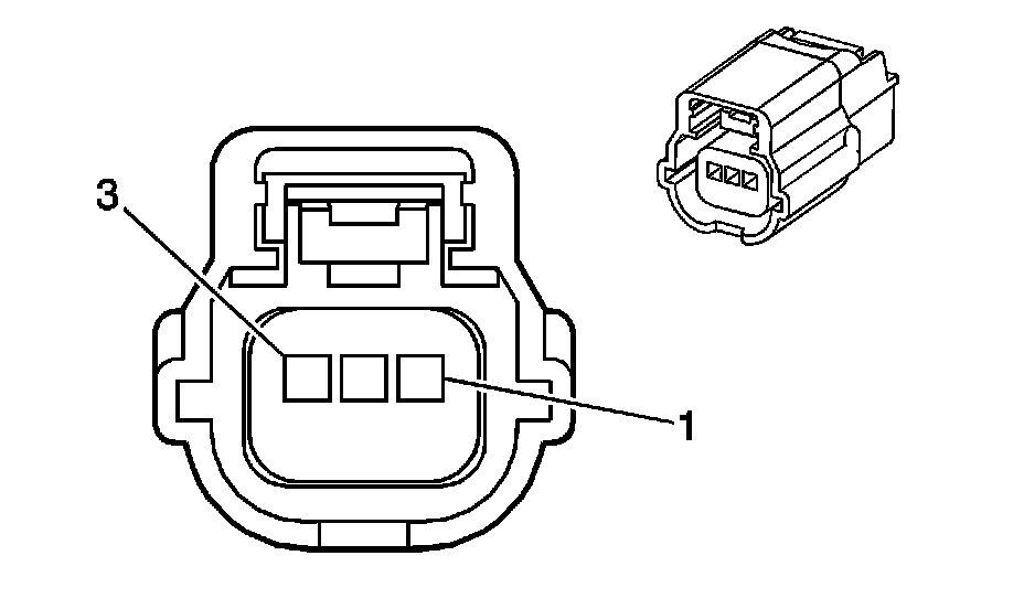
Crankshaft Position Sensor: Diagrams




Component Connector End Views

Crankshaft Position (CKP) Sensor