LEMON Manuals: Even more car manuals for everyone: 1960-2025
Home >> Chevrolet >> 2013 >> Malibu L4-2.5L >> Repair and Diagnosis >> Diagrams >> Connector Views >> Control Module HVAC >> HVAC Control Module X1
April 5, 2026: LEMON Manuals is launched! Read the announcement.

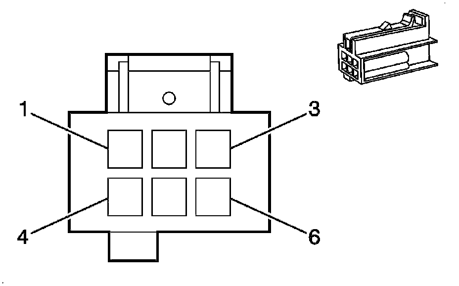
HVAC Control Module X1





Component Connector End Views

K33 HVAC Control Module X1