LEMON Manuals: Even more car manuals for everyone: 1960-2025
Home >> Chevrolet >> 2013 >> Sonic L4-1.8L >> Repair and Diagnosis >> Diagrams >> Connector Views >> Seat Temperature Control Module >> Seat Heating Control Module X1 (KA1)
April 5, 2026: LEMON Manuals is launched! Read the announcement.

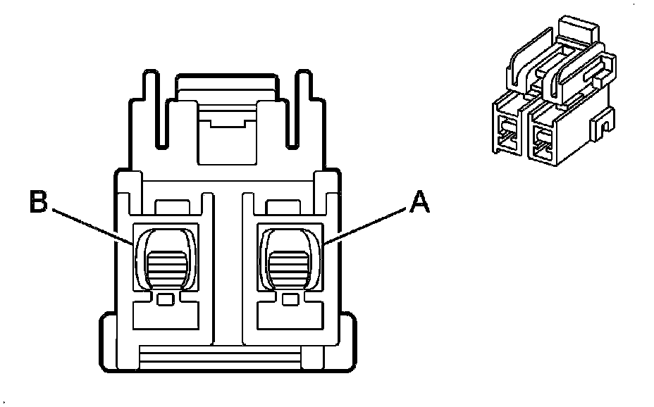
Seat Heating Control Module X1 (KA1)




Component Connector End Views

K29 Seat Heating Control Module X1 (KA1)