LEMON Manuals: Even more car manuals for everyone: 1960-2025
Home >> Chevrolet >> 2013 >> Sonic L4-1.8L >> Repair and Diagnosis >> Powertrain Management >> Computers and Control Systems >> Engine Control Module >> Diagrams >> Engine Control Module X3
April 5, 2026: LEMON Manuals is launched! Read the announcement.

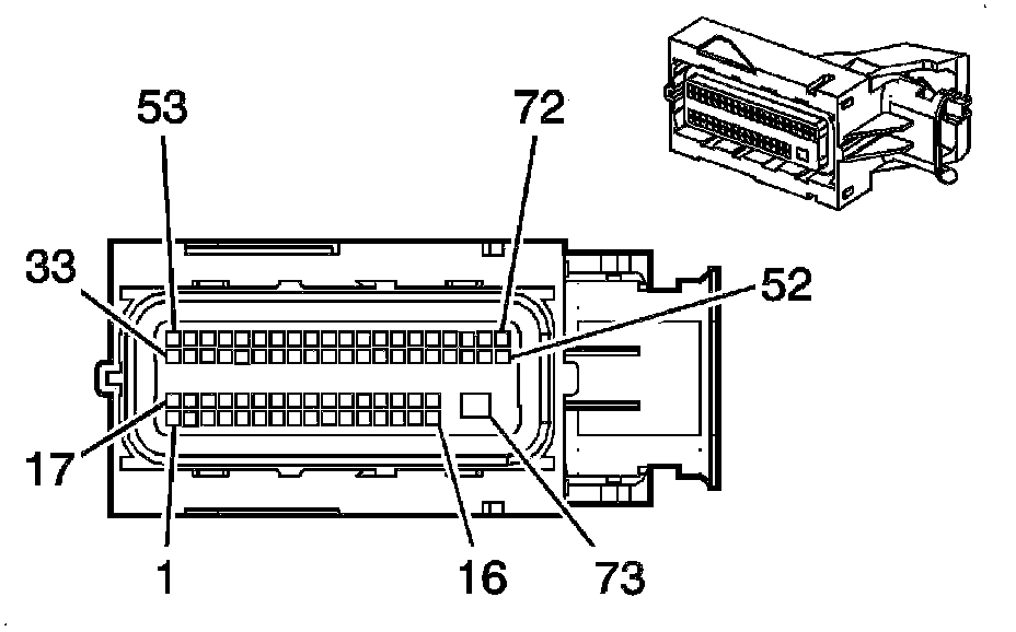
Engine Control Module X3




Component Connector End Views

K20 Engine Control Module X3 (LUW/LWE)