LEMON Manuals: Even more car manuals for everyone: 1960-2025
Home >> Chevrolet >> 2013 >> Volt L4-1.4L Elect >> Repair and Diagnosis >> Body and Frame >> Seats >> Seat Temperature Control Module >> Diagrams >> Seat Heating Control Module X1
April 5, 2026: LEMON Manuals is launched! Read the announcement.

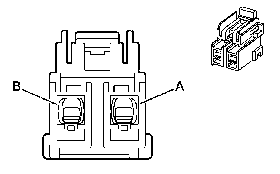
Seat Heating Control Module X1




Component Connector End Views

K29 Seat Heating Control Module X1