LEMON Manuals: Even more car manuals for everyone: 1960-2025
Home >> Chevrolet >> 2013 >> Volt L4-1.4L Elect >> Repair and Diagnosis >> Diagrams >> Connector Views >> Engine Control Module >> Engine Control Module X1
April 5, 2026: LEMON Manuals is launched! Read the announcement.

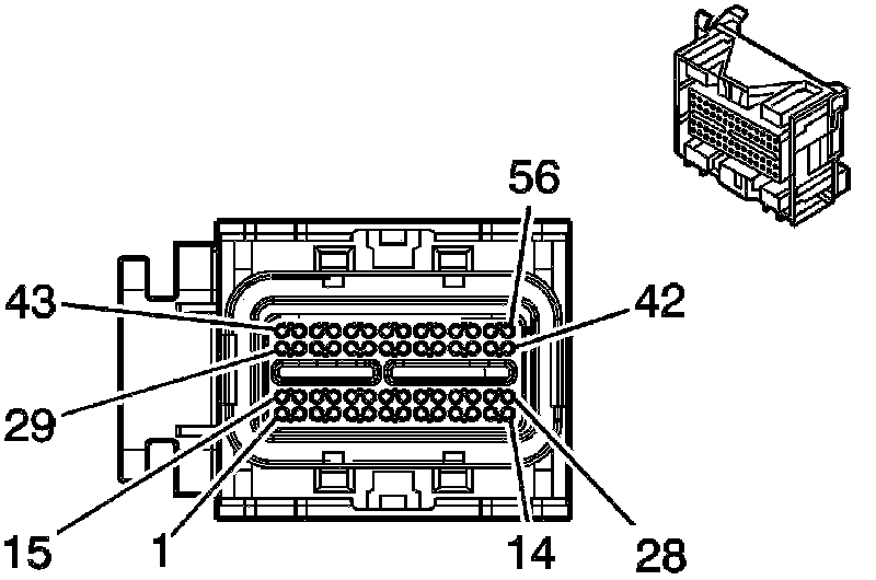
Engine Control Module X1




Component Connector End Views

K20 Engine Control Module X1