LEMON Manuals: Even more car manuals for everyone: 1960-2025
Home >> Chevrolet >> 2013 >> Volt >> Repair and Diagnosis >> External Pages >> Different car >> Section 100 (Wiring Systems And Power Management - Component Connector End Views - Q13 Through X98) >> Component Connector End Views >> T6 Power Inverter Module Assembly X2
April 5, 2026: LEMON Manuals is launched! Read the announcement.

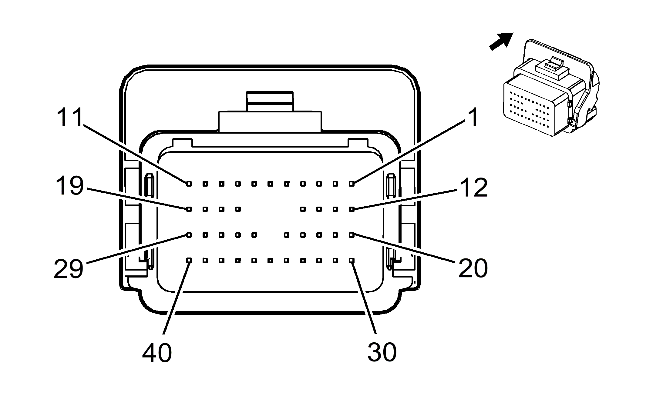
T6 Power Inverter Module Assembly X2

WARNING: This page is about a different car, the 2011 Chevrolet Volt. However, it is still accessible from the selected car via links, so may be relevant.
GM2474743Courtesy of GENERAL MOTORS CORP.
Connector Part Information 
  • Harness Type: Engine
  • OEM Connector: HPSPB-40C12-AK
  • Service Connector: 13577547
  • Description: 40-Way F 0.64 Series, Sealed (BK)
Terminal Part Information 
  • Pins: 1, 5, 11, 19, 35
  • Terminated Lead: 13575867
  • Release Tool: J-38125-215A
  • Diagnostic Test Probe: J-35616-64B (L-BU)
  • Terminal/Tray: SAIT-A03T-M064/14
  • Core/Insulation Crimp: P/P
  • Pins: 8-10, 15-18
  • Terminated Lead: Pending
  • Release Tool: J-38125-215A
  • Diagnostic Test Probe: J-35616-64B (L-BU)
  • Terminal/Tray: Pending
  • Core/Insulation Crimp: Pending
T6 Power Inverter Module Assembly X2

Pin Size Color Circuit Function Option
1 0.5 GY/L-BU 3336 High Voltage Battery Pack Traction Power Inverter Module Contactor Status -
2-4 - - - Not Used -
5 0.5 L-GN 6271 Crankshaft 60X Sensor Signal -
6-7 - - - Not Used -
8 0.75 VT 3493 Transmission IMS Mode Switch S bit Signal -
9 0.75 BN 3496 Transmission IMS Mode Switch D1 bit Signal -
10 0.75 YE/BK 3494 Transmission IMS Mode Switch R1 bit Signal -
11 0.5 L-BU/WH 3977 Accessory Wakup Serial Data 2 -
12-14 - - - Not Used -
15 0.75 YE/RD 1673 12 Volt Reference -
16 0.75 BK/WH 551 Signal Ground -
17 0.75 L-GN/BN 3497 Transmission IMS Mode Switch D2 bit Signal -
18 0.75 GY 3495 Transmission IMS Mode Switch R2 bit Signal -
19 0.5 VT/BK 339 Run/Crank Ignition 1 Voltage -
20-34 - - - Not Used -
35 0.5 RD/YE 240 Battery Positive Voltage -
36-40 - - - Not Used -