LEMON Manuals: Even more car manuals for everyone: 1960-2025
Home >> Chevrolet >> 2013 >> Volt >> Repair and Diagnosis >> External Pages >> Different car >> Section 217 (Wiring Systems And Power Management - Component Connector End Views - F101 Through K112B) >> Component Connector End Views >> K10 Coolant Heater Control Module X2
April 5, 2026: LEMON Manuals is launched! Read the announcement.

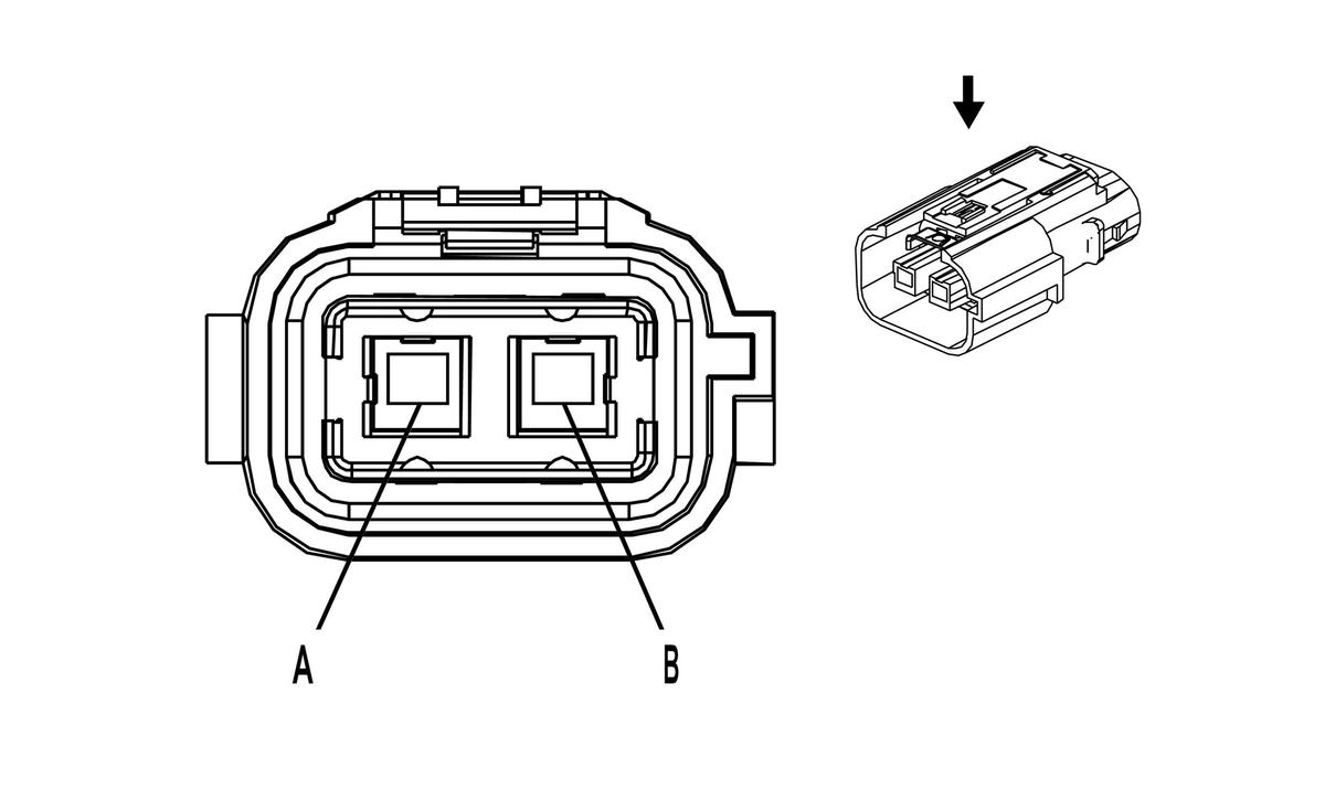
K10 Coolant Heater Control Module X2

WARNING: This page is about a different car, the 2012 Chevrolet Volt. However, it is still accessible from the selected car via links, so may be relevant.
GM2474682
Connector Part Information
  • Harness Type: High Voltage
  • OEM Connector: 13737728
  • Service Connector: Service by Harness - See Part Catalog
  • Description: 2-Way F (OG)
Terminal Part Information
  • Terminated Lead: Service by Harness - See Part Catalog
  • Release Tool: Service by Harness - See Part Catalog
  • Diagnostic Test Probe: Service by Harness - See Part Catalog
  • Terminal/Tray: Service by Harness - See Part Catalog
  • Core/Insulation Crimp: Service by Harness - See Part Catalog
K10 Coolant Heater Control Module X2

Pin Size Color Circuit Function Option
A - L-BU 5084 High Voltage Battery (+) -
B - L-BU 5083 High Voltage Battery (-) -