LEMON Manuals: Even more car manuals for everyone: 1960-2025
Home >> Chevrolet >> 2015 >> Spark LS, Standard Trans >> Repair and Diagnosis (Single Page) >> Quick Lookups >> Wiring Diagrams >> Wiring Systems And Power Management - Inline Harness Connector End Views And Component Connector End Views - Miscellaneous >> Component Connector End Views - Miscellaneous >> K43 Power Steering Control Module X3
April 5, 2026: LEMON Manuals is launched! Read the announcement.

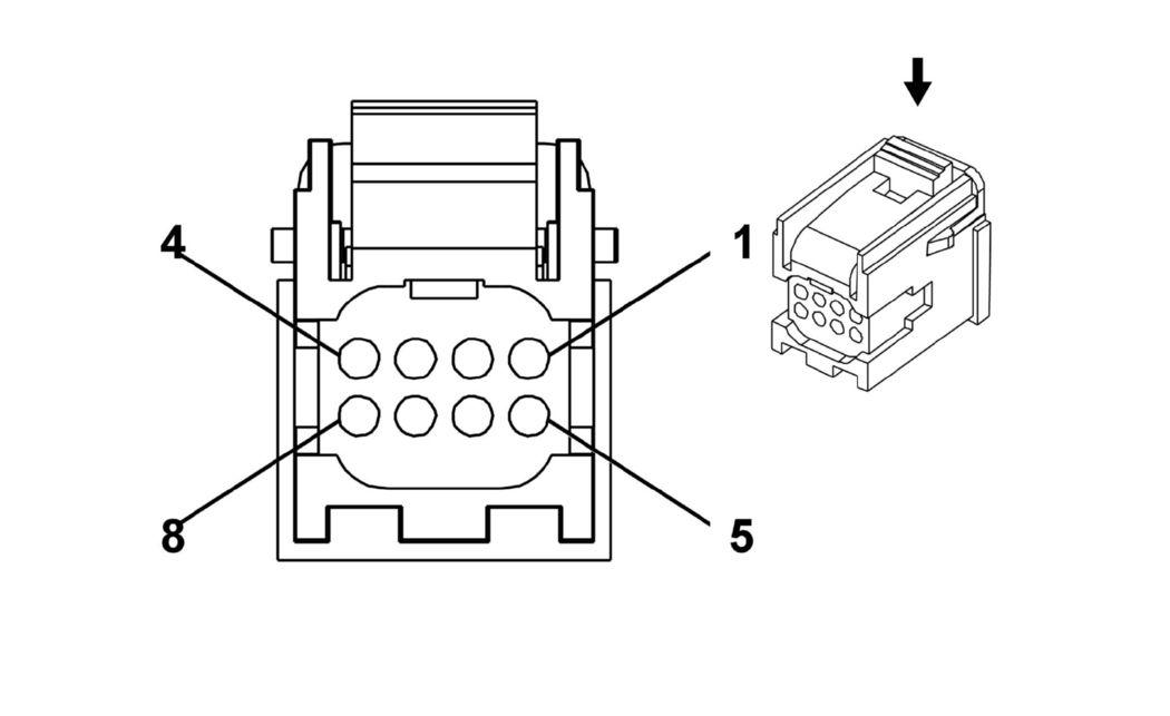
K43 Power Steering Control Module X3

GM2173890
Connector Part Information
  • Harness Type: Power Steering
  • OEM Connector: 13667007
  • Service Connector: Serviced by Harness - See Part Catalog
  • Description: 8-Way F Micro 64 Series (BK)
Terminal Part Information

Terminal Type ID Terminated Lead Diagnostic Test Probe Terminal Removal Tool Service Terminal Tray Core Crimp Insulation Crimp
I 13575239 J-38125-21 J-35616-64B (L-BU) 15359541 22 M M
Pin Size Color Circuit Function Terminal Type ID Option
1 0.5 OG - 1:V Torque Signal 2 I NJ1
2 0.5 BN - 2:V Torque Signal 2 I NJ1
3 0.5 WH - 3:Pulse Width Modulated I NJ1
4 0.5 GY - 4:Ground I NJ1
5 0.5 RD - 5:V Torque Signal 1 I NJ1
6 0.5 BU - 6:T Main I NJ1
7 0.5 YE - 7:T Sub I NJ1
8 0.5 BK - 8:Ground I NJ1