K34 Glow Plug Control Module
|
|
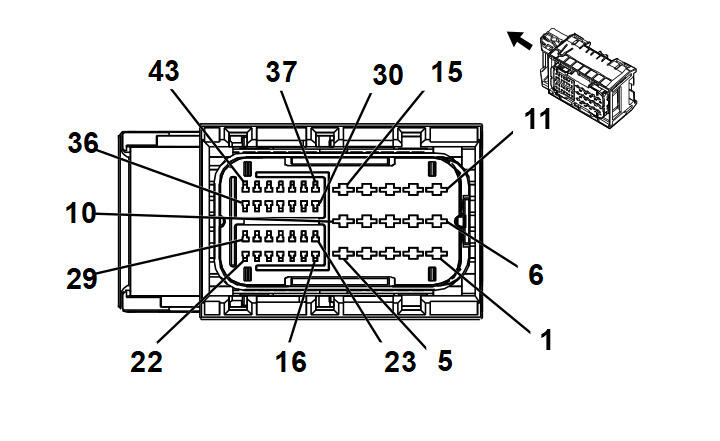
Connector Part Information
- Harness Type: Engine Chassis
- OEM Connector: 10023701
- Service Connector: Service by Harness - See Part Catalog
- Description: 43-Way F 1.2, 2.8 Series, Sealed (BK)
|
Terminal Part Information
| Terminal Type ID |
Terminated Lead |
Diagnostic Test Probe |
Terminal Removal Tool |
Service Terminal |
Tray Name |
Core Crimp |
Insulation Crimp |
| I |
13576372 |
J-35616-4A (PU) |
J-38125-556 |
Not Available |
Not Available |
Not Available |
Not Available |
| II |
13580008 |
J-35616-16 (LT GN) |
J-38125-21 |
Not Available |
Not Available |
Not Available |
Not Available |
| Pin |
Size |
Color |
Circuit |
Function |
Terminal Type ID |
Option |
| 1 |
- |
- |
- |
Not Occupied |
- |
- |
| 2 |
2 |
GY/YE |
1584 |
Glow Plug Control 4 |
I |
L5P |
| 3 |
2 |
GY/GN |
1583 |
Glow Plug Control 3 |
I |
L5P |
| 4 |
2 |
GY/BN |
1582 |
Glow Plug Control 2 |
I |
L5P |
| 5 |
2 |
GY/BU |
1581 |
Glow Plug Control 1 |
I |
L5P |
| 6 - 9 |
- |
- |
- |
Not Occupied |
- |
- |
| 10 |
2 |
BK |
550 |
Ground |
I |
L5P |
| 11 |
- |
- |
- |
Not Occupied |
- |
- |
| 12 |
2 |
GY/WH |
1585 |
Glow Plug Control 5 |
I |
L5P |
| 13 |
2 |
GY/VT |
1586 |
Glow Plug Control 6 |
I |
L5P |
| 14 |
2 |
WH/BK |
1587 |
Glow Plug Control 7 |
I |
L5P |
| 15 |
2 |
WH/BU |
1588 |
Glow Plug Control 8 |
I |
L5P |
| 16 |
0.5 |
BK |
- |
- |
II |
L5P |
| 17 |
0.5 |
BK |
- |
- |
II |
L5P |
| 18 |
0.5 |
WH |
2501 |
High Speed GMLAN Serial Data (-) 1 |
II |
L5P |
| 19 |
0.5 |
WH |
2501 |
High Speed GMLAN Serial Data (-) 1 |
II |
L5P |
| 20 - 22 |
- |
- |
- |
Not Occupied |
- |
- |
| 23 |
0.5 |
BK |
- |
- |
II |
L5P |
| 24 |
0.5 |
BK |
- |
- |
II |
L5P |
| 25 |
0.5 |
BU |
2500 |
High Speed GMLAN Serial Data (+) 1 |
II |
L5P |
| 26 |
0.5 |
BU |
2500 |
High Speed GMLAN Serial Data (+) 1 |
II |
L5P |
| 27 - 29 |
- |
- |
- |
Not Occupied |
- |
- |
| 30 |
0.5 |
BK |
- |
- |
II |
L5P |
| 31 |
0.5 |
BK |
- |
- |
II |
L5P |
| 32 |
- |
- |
- |
Not Occupied |
- |
- |
| 33 |
0.5 |
VT/BK |
2139 |
Run/Crank Ignition 1 Voltage |
II |
L5P |
| 34 - 36 |
- |
- |
- |
Not Occupied |
- |
- |
| 37 |
0.5 |
BK |
- |
- |
II |
L5P |
| 38 |
0.5 |
BK |
- |
- |
II |
L5P |
| 39 |
- |
- |
- |
Not Occupied |
- |
- |
| 40 |
0.5 |
VT/YE |
443 |
Accessory Ignition Voltage |
II |
L5P |
| 41 - 43 |
- |
- |
- |
Not Occupied |
- |
- |