LEMON Manuals: Even more car manuals for everyone: 1960-2025
Home >> Chevrolet >> 2017 >> Spark LS, Standard Trans >> Repair and Diagnosis (Single Page) >> Electrical >> Wiring Diagrams >> Component Connector End Views, Component Locations And Wiring Harness Routing Views >> Component Connector End Views, Component Locations & Wiring Harness Routing Views >> Service Information >> K17 Electronic Brake Control Module
April 5, 2026: LEMON Manuals is launched! Read the announcement.

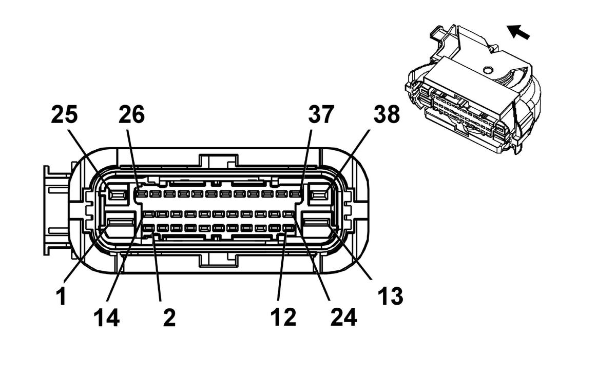
K17 Electronic Brake Control Module

GM4017538
Connector Part Information
  • Harness Type: Body
  • OEM Connector: 2112502-1
  • Service Connector: 19331442
  • Description: 38-Way F Mixed Series, Sealed (BK)
Terminal Part Information

Terminal Type ID Terminated Lead Diagnostic Test Probe Terminal Removal Tool Service Terminal Tray Core Crimp Insulation Crimp
I 19353349 J-35616-40 (BU) J-38125-556 Not Available Not Available Not Available Not Available
II 13582180 J-35616-14 (GN) J-38125-560 Not Available Not Available Not Available Not Available
III 13575368 J-35616-35 (VT) J-38125-557 1-968857-3 7 C 1
IV 19353348 J-35616-14 (GN) J-38125-560 Not Available Not Available Not Available Not Available
Pin Size Color Circuit Function Terminal Type ID Option
1 4 RD/GN 40 Battery Positive Voltage I JM4
2 - 3 - - - Not Occupied - -
4 0.5 YE 872 Wheel Speed Sensor Signal Right Front II JM4
5 - - - Not Occupied - -
6 0.5 GN/GY 333 Brake Fluid Level Sensor Signal II JM4
7 - - - Not Occupied - -
8 0.5 GY 830 Wheel Speed Sensor Signal Left Front II JM4
9 - 12 - - - Not Occupied - -
13 4 BK 250 Ground I JM4
14 0.5 WH 2501 High Speed GMLAN Serial Data (-) (1) II JM4
15 0.5
0.5
WH
WH
2501
2501
High Speed GMLAN Serial Data (-) (1)
High Speed GMLAN Serial Data (-) (1)
II
II
JM4+MR8
JM4-MR8
16 0.5 GY/BN 7065 Wheel Speed Sensor Supply Voltage Right Front II JM4
17 0.5 GY/YE 7128 Wheel Speed Sensor Supply Voltage Right Rear II JM4
18 0.5 BU 884 Wheel Speed Sensor Signal Left Rear II JM4
19 0.5 GY/WH 7064 Wheel Speed Sensor Supply Voltage Left Front II JM4
20 0.5 WH 6106 High Speed GMLAN Serial Data (-) (2) II FX3
21 - 24 - - - Not Occupied - -
25 2.5 RD/YE 240 Battery Positive Voltage III JM4
26 0.5 BU 2500 High Speed GMLAN Serial Data (+) (1) II JM4
27 0.5
0.5
BU
BU
2500
2500
High Speed GMLAN Serial Data (+) (1)
High Speed GMLAN Serial Data (+) (1)
II
II
JM4-MR8
JM4+MR8
28 0.35 WH/BU 5986 Serial Data Communication Enable IV JM4
29 0.5 VT 882 Wheel Speed Sensor Signal Right Rear II JM4
30 - - - Not Occupied - -
31 0.5 GY/BK 7127 Wheel Speed Sensor Supply Voltage Left Rear II JM4
32 - - - Not Occupied - -
33 0.5 BU/YE 6105 High Speed GMLAN Serial Data (+) (2) II FX3
34 - 37 - - - Not Occupied - -
38 2.5 BK 250 Ground III JM4