LEMON Manuals: Even more car manuals for everyone: 1960-2025
Home >> Chevrolet >> 2017 >> Spark LS, Standard Trans >> Repair and Diagnosis (Single Page) >> Quick Lookups >> Wiring Diagrams >> Component Connector End Views And Component Locations - Miscellaneous 2 Of 2 >> Component Connector End Views - Miscellaneous >> Service Information >> K71 Transmission Control Module X2
April 5, 2026: LEMON Manuals is launched! Read the announcement.

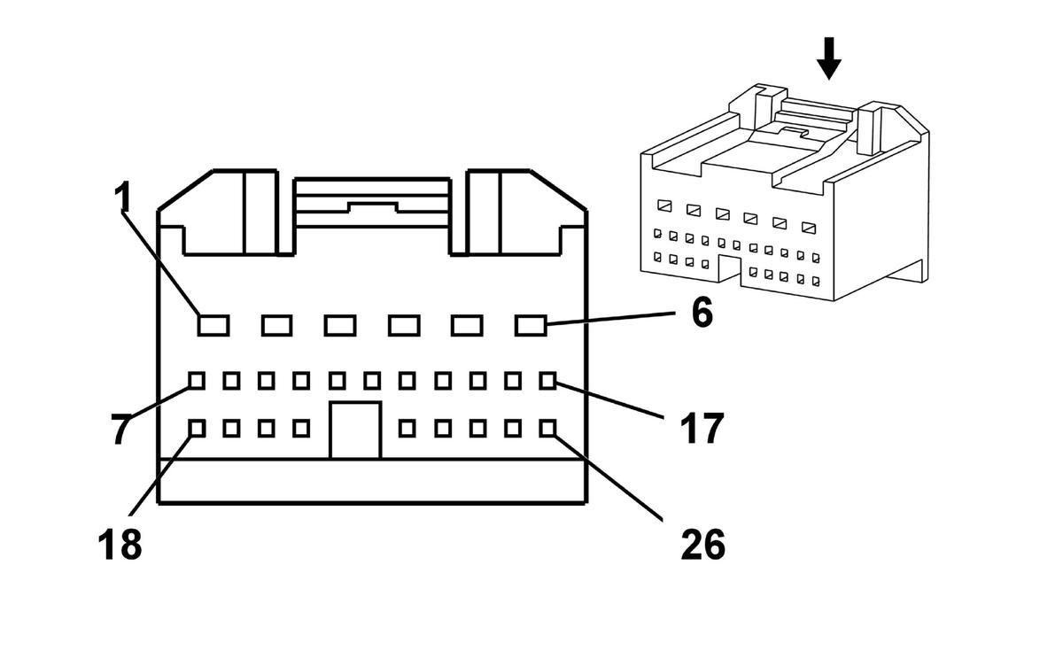
K71 Transmission Control Module X2

GM1830967
Connector Part Information
  • Harness Type: Body
  • OEM Connector: 1746863-1
  • Service Connector: 19331445
  • Description: 26-Way F 025, 090 Series (NA)
Terminal Part Information

Terminal Type ID Terminated Lead Diagnostic Test Probe Terminal Removal Tool Service Terminal Tray Core Crimp Insulation Crimp
I 13587509 J-35616-18 (BK) J-38125-553 7116-4020 11 E C
II 19330828 J-35616-64B (LT BU) J-38125-11A Not Available Not Available Not Available Not Available
Pin Size Color Circuit Function Terminal Type ID Option
1 0.5 VT/GN 439 Run/Crank Ignition 1 Voltage I MR8
2 0.35
0.35
VT/YE
VT/YE
5985
5985
Accessory Wakeup Serial Data
Accessory Wakeup Serial Data
I
I
MR8-KL9
MR8
3 - 4 - - - Not Occupied - -
5 0.5 YE/GN 4170 Transmission Sensor B Voltage Reference 9V I MR8
6 0.5 YE/GN 4170 Transmission Sensor B Voltage Reference 9V I MR8
7 0.5 YE/WH 1371 Transmission Position Switch Bit 4 Signal II MR8
8 - 10 - - - Not Occupied - -
11 0.5 BU 2500 High Speed GMLAN Serial Data (+) (1) II JM4+MR8
12 0.5 WH 2501 High Speed GMLAN Serial Data (-) (1) II JM4+MR8
13 0.5 WH 2501 High Speed GMLAN Serial Data (-) (1) II MR8
14 - 15 - - - Not Occupied - -
16 0.35 YE/GN 6962 Transmission Control Module Clutch Solenoid Enable A II MR8
17 - - - Not Occupied - -
18 0.5
0.5
WH
WH
776
776
Transmission Position Switch Parity Bit Signal
Transmission Position Switch Parity Bit Signal
II
II
MR8
MR8
19 - 21 - - - Not Occupied - -
22 0.5
0.5
BU
BU
2500
2500
High Speed GMLAN Serial Data (+) (1)
High Speed GMLAN Serial Data (+) (1)
II
II
MR8
MR8
23 - 26 - - - Not Occupied - -