LEMON Manuals: Even more car manuals for everyone: 1960-2025
Home >> Chevrolet >> 2017 >> Spark LS, Standard Trans >> Repair and Diagnosis >> External Pages >> Different car >> Section 34 (Cellular System, Entertainment System, And Navigation System) >> Repair Instructions >> Digital Radio Transceiver Module Antenna Replacement
April 5, 2026: LEMON Manuals is launched! Read the announcement.

Digital Radio Transceiver Module Antenna Replacement

WARNING: This page is about a different car, the 2019 Buick Cascada, 2018 Buick Cascada, and 2017 Buick Cascada. However, it is still accessible from the selected car via links, so may be relevant.
GM2949042
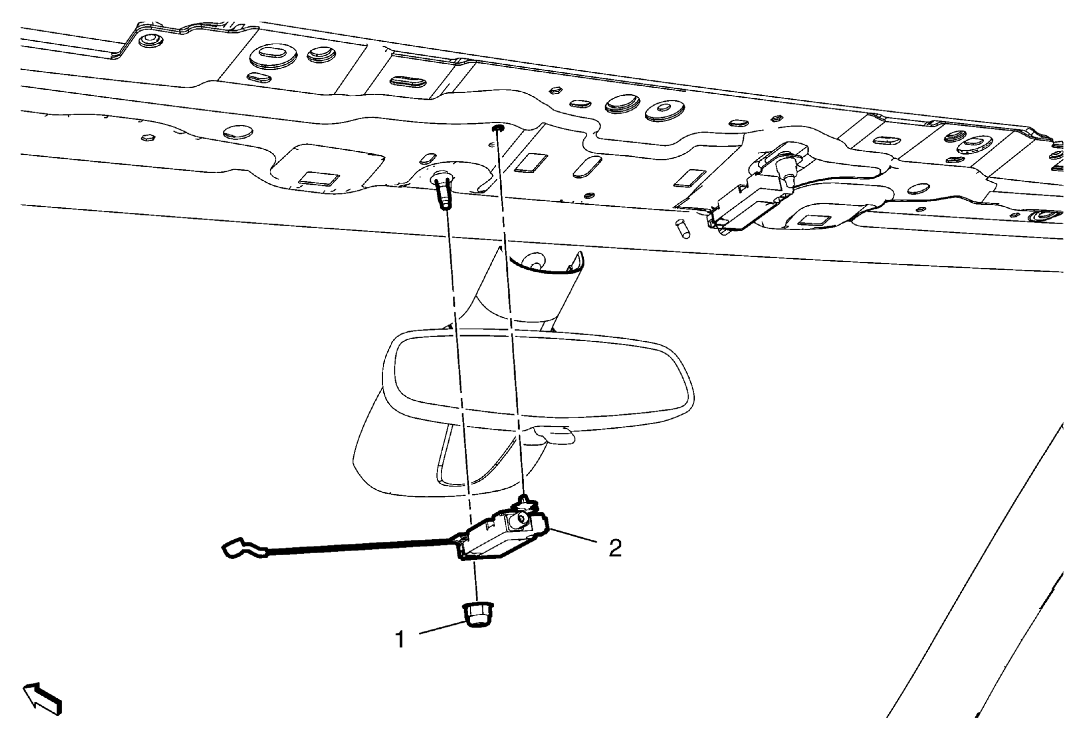
Callout Component Name
Preliminary Procedure 
Remove the headlining front trim panel. Refer to Headlining Front Trim Panel Replacement .
1 Digital Radio Transceiver Module Antenna Nut
CAUTION:

Refer to Fastener Caution .

2 Digital Radio Transceiver Module Antenna

Procedure

  1. Disconnect the electrical connector.
  2. Unlock retainers.