LEMON Manuals: Even more car manuals for everyone: 1960-2025
Home >> Chevrolet >> 2017 >> Trax Premier, AWD >> Repair and Diagnosis >> External Pages >> Different car >> Section 3 (Component Connector End Views - A3 To B218L (Encore)) >> Component Connector End Views (Buick) >> K71 Transmission Control Module X3 (MM1)
April 5, 2026: LEMON Manuals is launched! Read the announcement.

K71 Transmission Control Module X3 (MM1)

WARNING: This page is about a different car, the 2017 Buick Encore. However, it is still accessible from the selected car via links, so may be relevant.
GM2487925
Connector Part Information
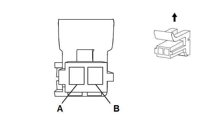
  • Harness Type: Transmission Output Speed Sensor Pigtail
  • OEM Connector: 13543034
  • Service Connector: Service by Harness - See Part Catalog
  • Description: 2-Way F 150.2 Metri-Pack Series (BU)
Terminal Part Information

Terminal Type ID Terminated Lead Diagnostic Test Probe Terminal Removal Tool Service Terminal Tray Name Core Crimp Insulation Crimp
I Not Required Not Available No Tool Required Not Required Not Required Not Required Not Required
Pin Size Color Circuit Function Terminal Type ID Option
A - BK 6356 Output Speed Low Signal I -
B - WH 6355 Output Speed High Signal Output I -