LEMON Manuals: Even more car manuals for everyone: 1960-2025
Home >> Chevrolet >> 2018 >> Traverse L >> Repair and Diagnosis >> External Pages >> Different car >> Section 7 (Component Connector End Views (A3L-B80)) >> Component Connector End Views >> B71L Liftgate Object Sensor - Left (TB5/TC2)
April 5, 2026: LEMON Manuals is launched! Read the announcement.

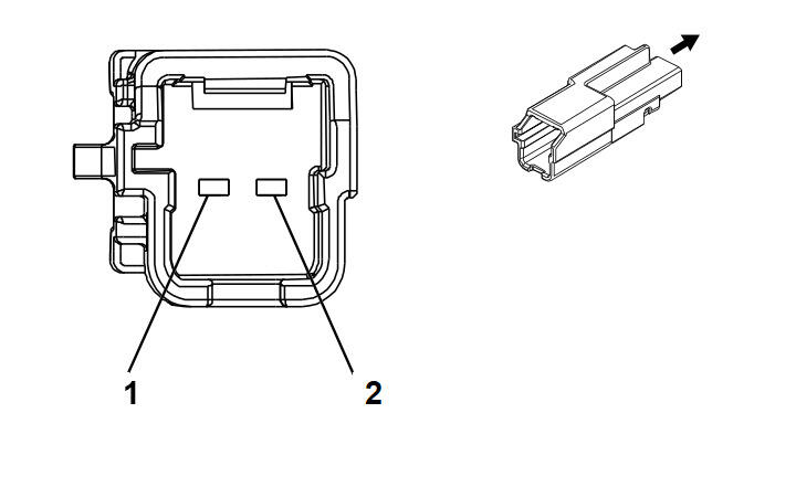
B71L Liftgate Object Sensor - Left (TB5/TC2)

WARNING: This page is about a different car, the 2019 Chevrolet Traverse. However, it is still accessible from the selected car via links, so may be relevant.
GM4116496Courtesy of GENERAL MOTORS COMPANY
Connector Part Information
  • Harness Type: Liftgate
  • OEM Connector: 13588641
  • Service Connector: Service by Harness - See Part Catalog
  • Description: 2-Way M 1.2 Series (BK)
Terminal Part Information

Terminal Type ID Terminated Lead Diagnostic Test Probe Terminal Removal Tool Service Terminal Tray Name Core Crimp Insulation Crimp
I Not Required J-35616-17 (LT GN) No Tool Required Not Required Not Required Not Required Not Required
Pin Size Color Circuit Function Terminal Type ID Option
1 0.5 WH/BK 6126 Lift Gate Object Sensor 2 Signal I TB5/TC2
2 0.5 GY/BK 5802 Lift Gate Object Sensor Signal I TB5/TC2