LEMON Manuals: Even more car manuals for everyone: 1960-2025
Home >> Chevrolet >> 2018 >> Traverse Premier, FWD >> Repair and Diagnosis >> External Pages >> Different car >> Section 10 (Component Connector End Views (K20 (X3)-K77)) >> Component Connector End Views >> K33 HVAC Control Module X1
April 5, 2026: LEMON Manuals is launched! Read the announcement.

K33 HVAC Control Module X1

WARNING: This page is about a different car, the 2019 Chevrolet Traverse. However, it is still accessible from the selected car via links, so may be relevant.
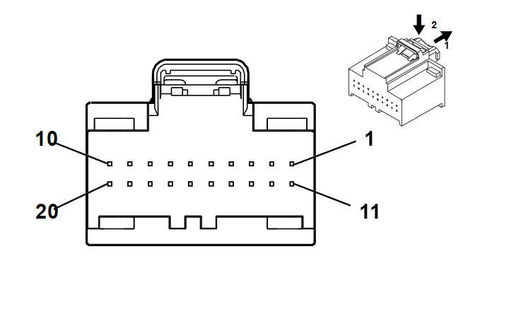
GM5109511Courtesy of GENERAL MOTORS COMPANY
Connector Part Information
  • Harness Type: Instrument Panel
  • OEM Connector: 13525993
  • Service Connector: 13576644
  • Description: 20-Way F 0.64 Series (GN)
Terminal Part Information

Terminal Type ID Terminated Lead Diagnostic Test Probe Terminal Removal Tool Service Terminal Tray Name Core Crimp Insulation Crimp
I 13575867 J-35616-64B (LT BU) J-38125-215A Not Available Not Available Not Available Not Available
Pin Size Color Circuit Function Terminal Type ID Option
1 - - - Not Occupied - -
2 0.35 GY/GN 7565 Windscreen Temp Sensor Signal I -
3 - - - Not Occupied - -
4 0.35 BU/WH 734 Inside Air Temperature Sensor Signal I -
5 0.35 YE/BU 3197 Humidity Temperature Sensor Signal I -
6 0.35 YE/RD 597 5V Reference I -
7 0.35 BK/BU 7566 Humidity/Windscreen Temp Sensor Low Reference I -
8 - 11 - - - Not Occupied - -
12 0.35 GY/BU 7564 Humidity Sensor Signal I -
13 - - - Not Occupied - -
14 0.35 GY 590 Solar Sensor Driver Signal I -
15 - 17 - - - Not Occupied - -
18 0.35 BN 404 Upper Air Temperature Sensor Signal I -
19 0.35 BN/BK 405 Lower Air Temperature Sensor Signal I -
20 - - - Not Occupied - -