LEMON Manuals: Even more car manuals for everyone: 1960-2025
Home >> Chevrolet >> 2019 >> Sonic LS, Automatic Trans >> Repair and Diagnosis >> External Pages >> Different car >> Section 2 (Component Connector End Views - B65 To K9 X3) >> Component Connector End Views >> K8 Blower Motor Control Module
April 5, 2026: LEMON Manuals is launched! Read the announcement.

K8 Blower Motor Control Module

WARNING: This page is about a different car, the 2017 GMC Canyon and 2017 Chevrolet Colorado. However, it is still accessible from the selected car via links, so may be relevant.
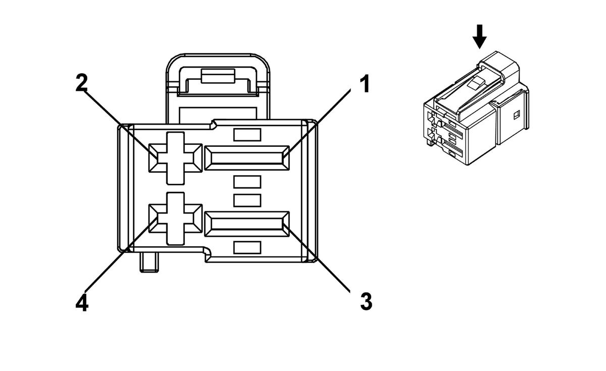
GM3924403
Connector Part Information
  • Harness Type: Instrument Panel
  • OEM Connector: 1-1418507-2
  • Service Connector: 19352990
  • Description: 4-Way F 2.8, 6.3 MCON Series (BK)
Terminal Part Information

Terminal Type ID Terminated Lead Diagnostic Test Probe Terminal Removal Tool Service Terminal Tray Name Core Crimp Insulation Crimp
I Not Required J-35616-35 (VT) No Tool Required Not Required Not Required Not Required Not Required
II Not Required J-35616-40 (BU) No Tool Required Not Required Not Required Not Required Not Required
III Not Required J-35616-42 (RD) No Tool Required Not Required Not Required Not Required Not Required
Pin Size Color Circuit Function Terminal Type ID Option
1 5 BK 2250 Ground III -
2 - - - Not Occupied - -
3 2.5 RD/VT 542 Battery Positive Voltage II -
4 0.35 L-BU/GY 754 Blower Motor Speed Control I -