LEMON Manuals: Even more car manuals for everyone: 1960-2025
Home >> Chevrolet >> 2021 >> Traverse Premier, 4WD >> Repair and Diagnosis (Single Page) >> Electrical >> Wiring Diagrams >> Component Connector End Views (K43-M50D) >> Component Connector End Views >> K84 Keyless Entry Control Module X2
April 5, 2026: LEMON Manuals is launched! Read the announcement.

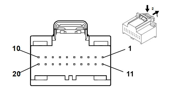
K84 Keyless Entry Control Module X2

GM5109537Courtesy of GENERAL MOTORS COMPANY
Connector Part Information
  • Harness Type: Body
  • OEM Connector: 13525991
  • Service Connector: 13525991
  • Description: 20-Way F 0.64 Series (GY)
Terminal Part Information

Terminal Type ID Terminated Lead Diagnostic Test Probe Terminal Removal Tool
I 13584547 J-35616-64B (LT BU) J-38125-215A
Pin Size Color Circuit Function Terminal Type ID Option
1 0.5 YE / GY 6158 Right Rear Door Handle Switch Signal I (ATH/ATS)
2 0.5 BN / YE 6157 Left Rear Door Handle Switch Signal I (ATH/ATS)
3 - 5 - - - Not Occupied - -
6 0.35 VT 3560 Driver Door Passive Entry Antenna High Signal I (ATH/ATS)
7 0.35 VT / GY 3561 Driver Door Passive Entry Antenna Low Signal I (ATH/ATS)
8 0.35 GY 2066 Hands-Free Liftgate Sensor Lamp Control I TC2
9 0.35 GN / BK 3563 Passenger Door Passive Entry Antenna Low Signal I (ATH/ATS)
10 - - - Not Occupied - -
11 0.35 VT / WH 3571 Passenger Door Handle Switch Signal I (ATH/ATS)
12 0.35 GN / WH 3570 Driver Door Handle Switch Signal I (ATH/ATS)
13 - 15 - - - Not Occupied - -
16 0.35 BN / GN 3568 Rear Closure Passive Entry Antenna High Signal I (ATH/ATS)
17 - - - Not Occupied - -
18 0.35 GN / GY 3569 Rear Closure Passive Entry Antenna Low Signal I (ATH/ATS)
19 - - - Not Occupied - -
20 0.35 GN / YE 3562 Passenger Door Passive Entry Antenna High Signal I (ATH/ATS)