LEMON Manuals: Even more car manuals for everyone: 1960-2025
Home >> Chevrolet >> 2021 >> Traverse Premier, 4WD >> Repair and Diagnosis (Single Page) >> Quick Lookups >> Wiring Diagrams >> Component Connector End Views (K43-M50D) >> Component Connector End Views >> K60 Steering Column Lock Module
April 5, 2026: LEMON Manuals is launched! Read the announcement.

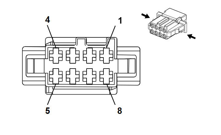
K60 Steering Column Lock Module

GM2173871Courtesy of GENERAL MOTORS COMPANY
Connector Part Information
  • Harness Type: Instrument Panel
  • OEM Connector: 24466119
  • Service Connector: 13576545
  • Description: 8-Way F 1.6 Micro-Timer Series (BK)
Terminal Part Information

Terminal Type ID Terminated Lead Diagnostic Test Probe Terminal Removal Tool
I Not required J-35616-14 (GN) No Tool Required
Pin Size Color Circuit Function Terminal Type ID Option
1 - - - Not Occupied - -
2 0.35 BU / WH 5904 Steering Column Lock Status Signal I N06
3 0.35 BU / VT 807 Ignition Off/Accessory Ignition Voltage I N06
4 0.35 GN / VT 1601 Steering Column Lock Signal I N06
5 0.35 RD / GY 4140 Battery Positive Voltage I N06
6 0.35 BK 1750 Ground I N06
7 0.35 BK / WH 1751 Signal Ground I N06
8 0.35 GN 5060 Low Speed GMLAN Serial Data I N06