LEMON Manuals: Even more car manuals for everyone: 1960-2025
Home >> Chrysler >> 2004 >> Crossfire V6-3.2L VIN L >> Repair and Diagnosis >> Specifications >> Mechanical Specifications >> Engine >> System Specifications >> Service Specifications
April 5, 2026: LEMON Manuals is launched! Read the announcement.

Service Specifications

Cylinder Head Torque Sequence:





Cylinder Head Torque
Stage One 10 Nm (7 ft. lbs.)
Stage Two 30 Nm (22 ft. lbs.)
Stage Three Rotate bolts 90° clockwise
Stage Four Rotate bolts 90° clockwise
Tighten bolts 9 and 10 20 Nm (7-15 ft. lbs.)




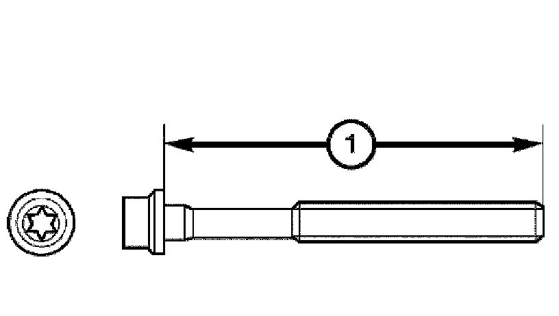
Cylinder Head Bolt Reuse/Replace Replace if (1) > 144 mm in length

Intake Manifold Bolts 20 Nm (15 ft. lbs.)

Camshaft Bearing Cap Torque Sequence:





Camshaft Bearing Cap Torque 15 Nm (11 ft. lbs.)

Main Bearing Cap Torque Sequence:





Main Bearing Cap Torque
Stage One (M8 bolts) 20 Nm (15 ft. lbs.)
Stage Two (M8 bolts) rotate 90° clockwise
Stage One (M10 bolts) 30 Nm (22 ft. lbs.)
Stage Two (M10 bolts) rotate 90° clockwise

Rod Bearing Cap Torque
Stage One 5 Nm (44 in. lbs.)
Stage Two 25 Nm (18 ft. lbs.)
Stage Three rotate bolts 90° clockwise.




Flywheel Bolts
Stage One 45 Nm (33 ft. lbs., 398 in. lbs.)
Stage Two 90° Clockwise

Crankshaft Pulley Torque
Stage One 200 Nm (148 ft. lbs.)
Stage Two 90° clockwise

Oil Pump Bolts 20 Nm (15 ft. lbs.)

Exhaust Manifold Bolts 35 Nm (26 ft. lbs.)





Water Pump Bolts 35 Nm (26 ft. lbs.)