LEMON Manuals: Even more car manuals for everyone: 1960-2025
Home >> Chrysler >> 2005 >> Crossfire Base, 2D Convertible >> Repair and Diagnosis (Single Page) >> Accessories & Equipment >> Communication Devices >> Electronic Control Modules - Electrical Diagnostics >> DTC Troubleshooting >> *No Response From Transmission Control Module >> Diagnostic Test
April 5, 2026: LEMON Manuals is launched! Read the announcement.

Diagnostic Test

  1. 1)   CHECK COMMUNICATION WITH OTHER MODULES
    Fig 1: Connecting Scan Tool & Turning Ignition On
    GC0032455Courtesy of DAIMLERCHRYSLER CORP.

    Turn the ignition on.

    Using the DRB III®, attempt to communicate with any other module.

    Is the DRB III® able to communicate with the module selected? 

    Yes 

    1. Go to step  2).

    No 

    1. Perform Symptom *No Response From All Modules.
  2. 2)   TRACTION SYSTEM RELAY OUTPUT CIRCUIT OPEN
    Fig 2: Checking Traction System Relay Output Circuit
    GC0034962Courtesy of DAIMLERCHRYSLER CORP.

    Turn the ignition off.

    Disconnect the TCM harness connector.

    NOTE: Check connector - Clean/repair as necessary.

    Turn the ignition on.

    Measure the voltage of the Traction System Relay Output circuit at the TCM harness connector.

    Is the voltage above 10 volts? 

    Yes 

    1. Go to step  3).

    No 

    1. Repair the Traction System Relay Output circuit for an open.
    2. Perform TRANSMISSION VERIFICATION TEST .
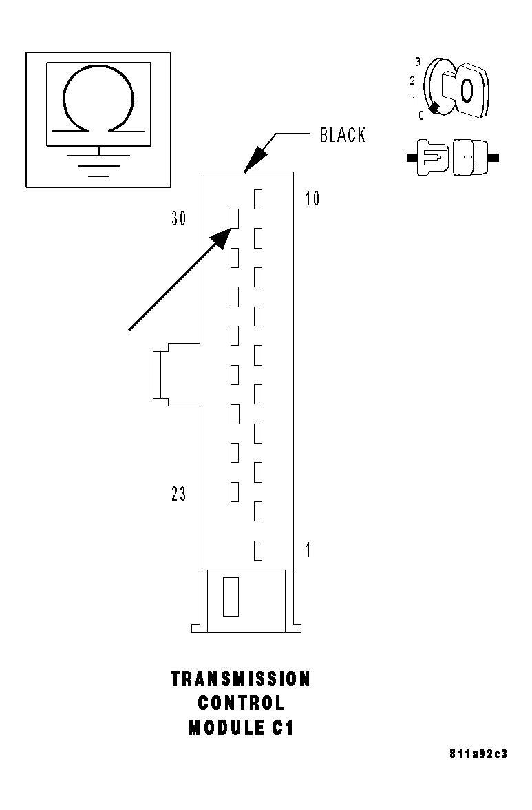
  3. 3)   GROUND CIRCUIT OPEN
    Fig 3: Checking Ground Circuit
    GC0034963Courtesy of DAIMLERCHRYSLER CORP.

    Turn the ignition off.

    Measure the resistance of the Ground circuit from the TCM harness connector to ground.

    Is the resistance below 5.0 ohms? 

    Yes 

    1. Go to step  4).

    No 

    1. Repair the Ground circuit for an open.
    2. Perform TRANSMISSION VERIFICATION TEST .
  4. 4)   SCI TRANSMIT CIRCUIT OPEN
    Fig 4: Checking SCI Transmit Circuit
    GC0034964Courtesy of DAIMLERCHRYSLER CORP.

    With the ignition off.

    Measure the resistance of the SCI Transmit circuit from the TCM harness connector to the DLC.

    Is the resistance below 5.0 ohms? 

    Yes 

    Go to step  5).

    No 

    1. Repair the SCI Transmit circuit for an open.
    2. Perform TRANSMISSION VERIFICATION TEST .
  5. 5)   SCI TRANSMIT CIRCUIT SHORTED TO GROUND
    Fig 5: Checking SCI Transmit Circuit
    GC0034965Courtesy of DAIMLERCHRYSLER CORP.

    With the ignition off.

    Measure the resistance between ground and the SCI Transmit circuit.

    Is the resistance above 100 kohms? 

    Yes 

    1. Go to step  6).

    No 

    1. Repair the SCI Transmit circuit for a short to ground.
    2. Perform TRANSMISSION VERIFICATION TEST .
  6. 6)   SCI TRANSMIT CIRCUIT SHORTED TO VOLTAGE
    Fig 6: Checking SCI Transmit Circuit
    GC0034966Courtesy of DAIMLERCHRYSLER CORP.

    Turn the ignition on.

    Measure the voltage of the SCI Transmit circuit at the DLC.

    Is the voltage below 0.5 volt? 

    Yes 

    1. Replace the Transmission Control Module. (Refer to ELECTRICAL/ELECTRONIC CONTROL MODULES/TRANSMISSION CONTROL MODULE - REMOVAL) .
    2. Perform TRANSMISSION VERIFICATION TEST .

    No 

    1. Repair the SCI Transmit circuit for a short to voltage.
    2. Perform TRANSMISSION VERIFICATION TEST .