LEMON Manuals: Even more car manuals for everyone: 1960-2025
Home >> Chrysler >> 2005 >> Crossfire Base, 2D Convertible >> Repair and Diagnosis (Single Page) >> Accessories & Equipment >> Wiper/Washer Systems >> Wiper System & Washer System - Electrical Diagnostics >> Wipers/Washers - Electrical Diagnostics >> DTC Troubleshooting >> *Wipers Intermittent Speed Inoperative >> Notes
April 5, 2026: LEMON Manuals is launched! Read the announcement.

*Wipers Intermittent Speed Inoperative: Notes

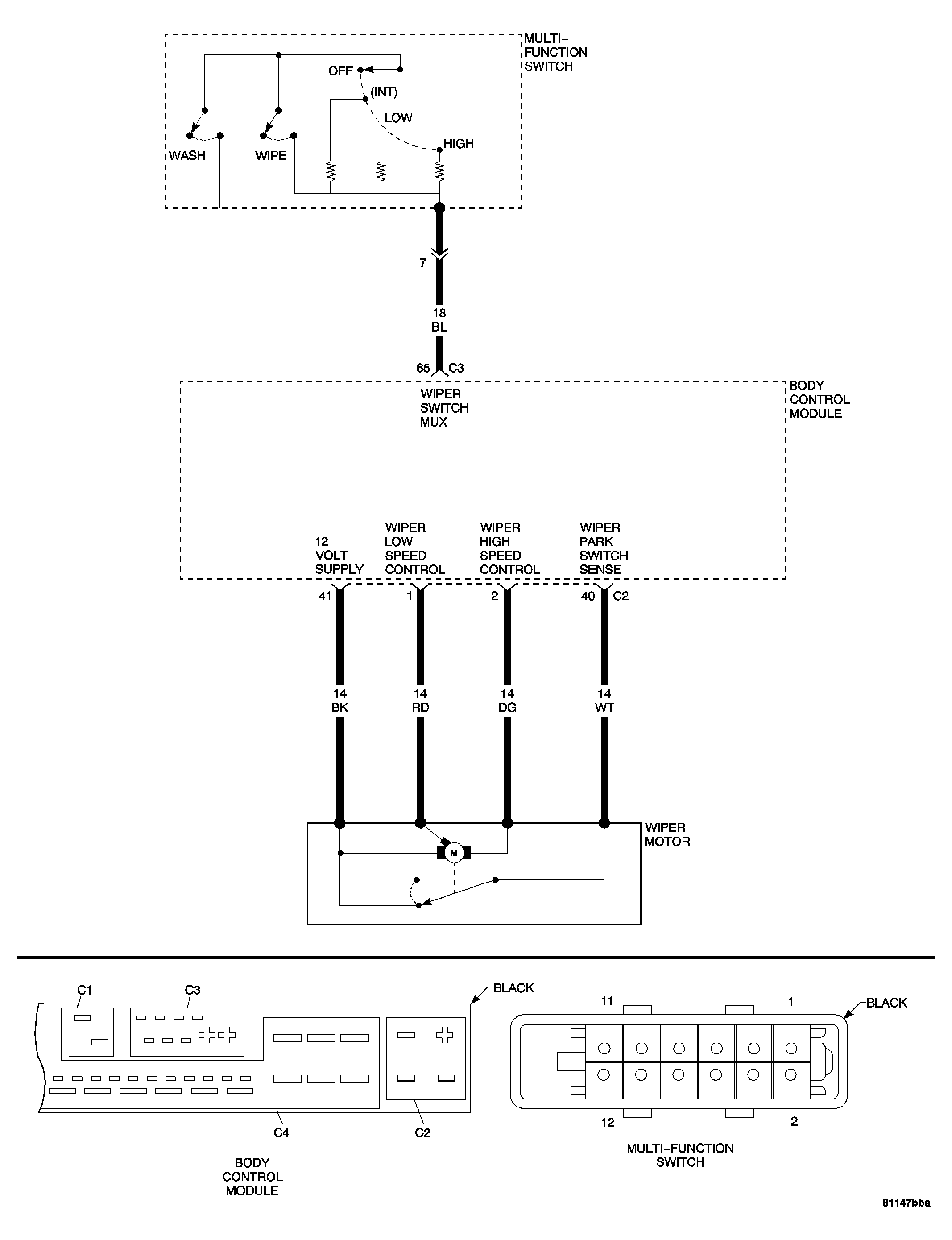
Fig 1: Wiper Speed Circuit Schematic
GC0035792Courtesy of DAIMLERCHRYSLER CORP.
POSSIBLE CAUSES 
MULTI-FUNCTION SWITCH
BODY CONTROL MODULE

For a complete Wipers/Washers Circuit Diagram, (Refer to ELECTRICAL/WIPERS/WASHERS - SCHEMATICS AND DIAGRAMS) .