LEMON Manuals: Even more car manuals for everyone: 1960-2025
Home >> Chrysler >> 2005 >> Crossfire Base, 2D Convertible >> Repair and Diagnosis >> Engine Performance >> System >> Diagnostic Code Index & DTCS P0040 To P0128 >> Diagnosis And Testing >> (P0112) Intake Air Temperature Sensor Circuit Low (Except SRT) >> Notes
April 5, 2026: LEMON Manuals is launched! Read the announcement.

(P0112) Intake Air Temperature Sensor Circuit Low (Except SRT): Notes

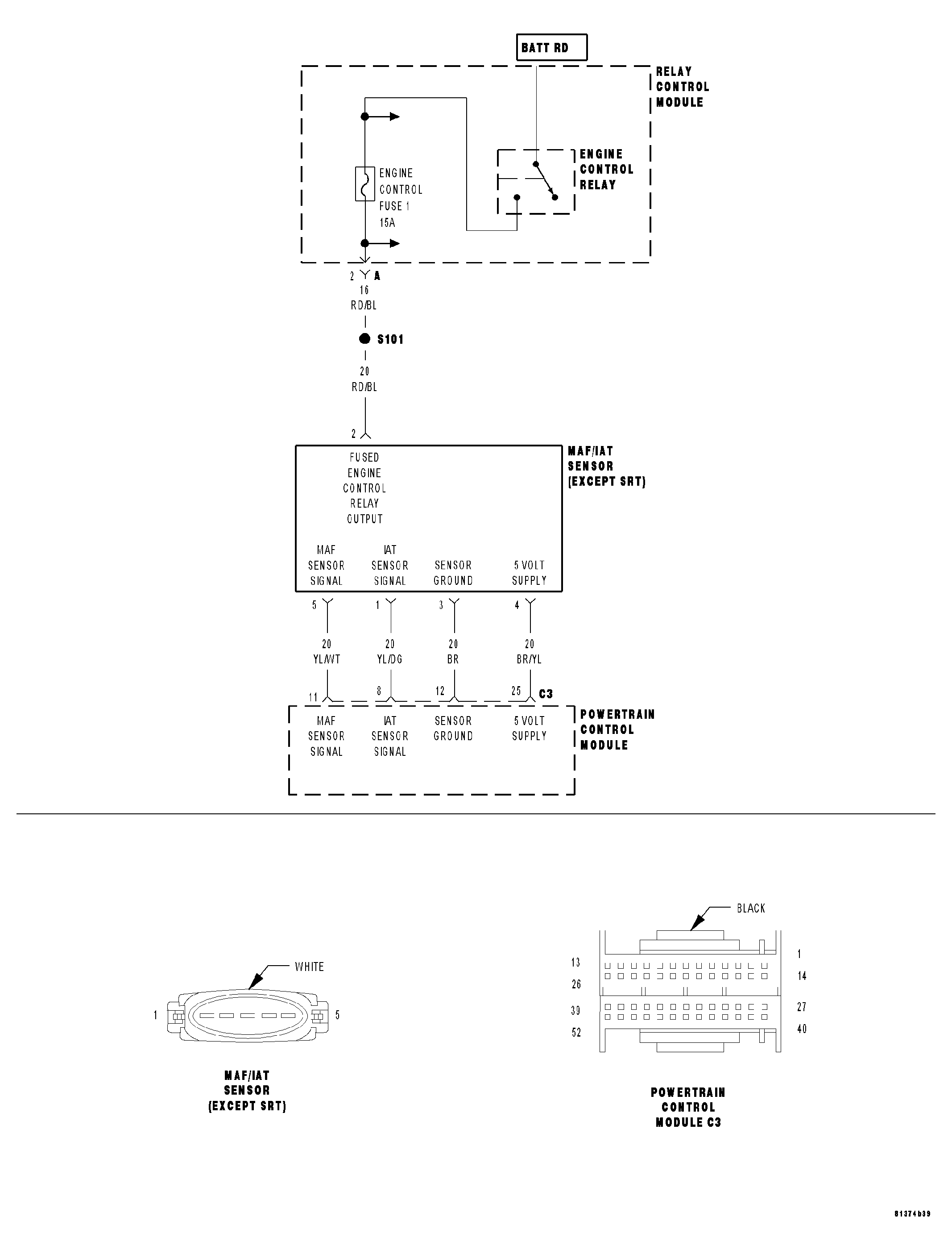
Fig 1: Intake Air Temperature Sensor Circuit Schematic (Except SRT)
GC0034061Courtesy of DAIMLERCHRYSLER CORP.