LEMON Manuals: Even more car manuals for everyone: 1960-2025
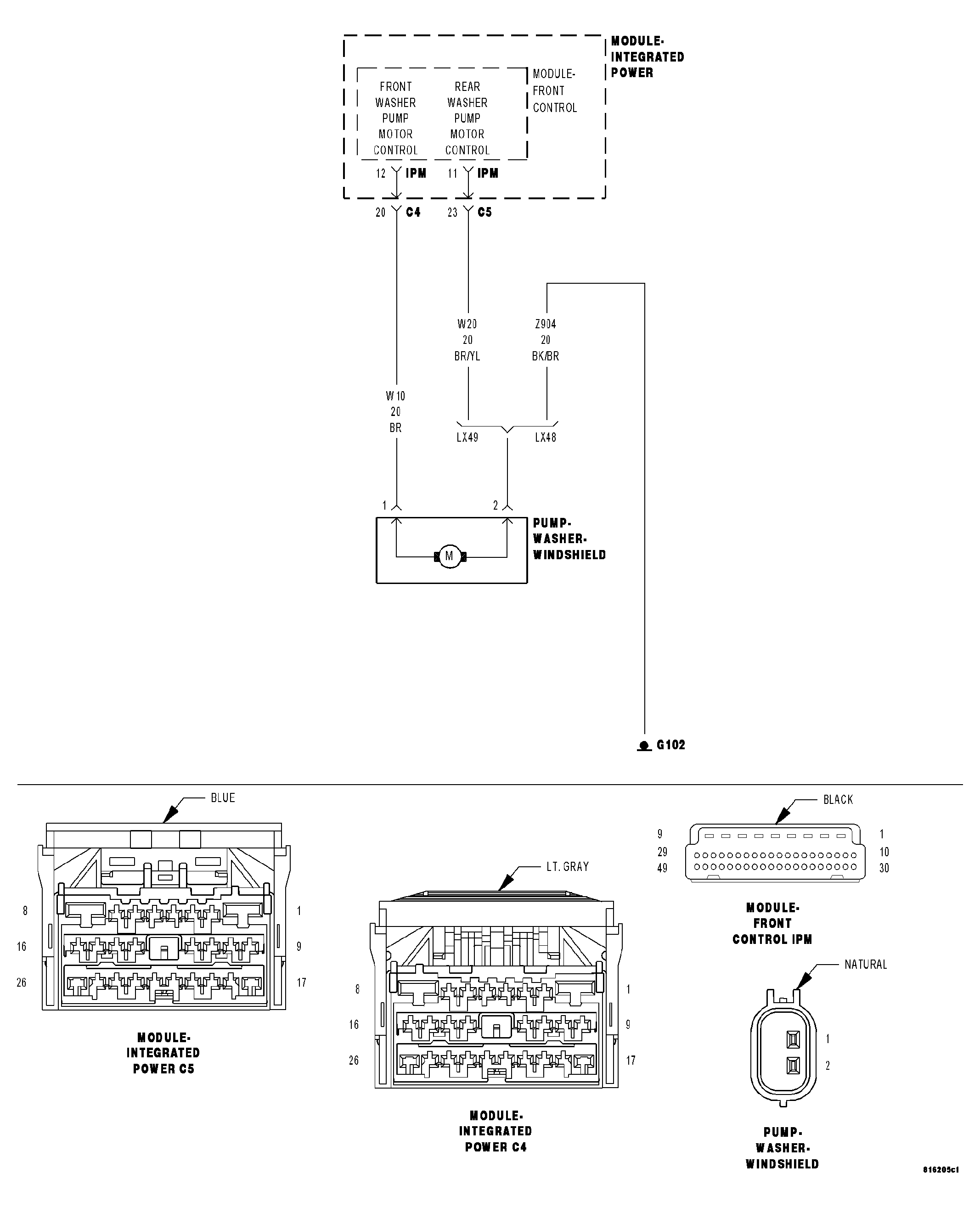
Home >> Chrysler >> 2007 >> 300 Base >> Repair and Diagnosis (Single Page) >> Accessories & Equipment >> Wiper/Washer Systems >> Wiper System & Washer System - Electrical Diagnostics >> Wipers/Washers - Electrical Diagnostics >> DTC Troubleshooting >> B2321 - Front/Rear Washer Motor Control Circuit Open >> Circuit Schematic
April 5, 2026: LEMON Manuals is launched! Read the announcement.

Circuit Schematic

Fig 1: Front/Rear Washer Motor Control Circuit Diagram
GC0040920Courtesy of CHRYSLER LLC