LEMON Manuals: Even more car manuals for everyone: 1960-2025
Home >> Chrysler >> 2007 >> Crossfire Base, 2D Convertible >> Repair and Diagnosis (Single Page) >> Accessories & Equipment >> Wiper/Washer Systems >> Wiper System & Washer System - Electrical Diagnostics >> Wipers/Washers - Electrical Diagnostics >> DTC Troubleshooting >> *Wipers Inoperative >> Notes
April 5, 2026: LEMON Manuals is launched! Read the announcement.

*Wipers Inoperative: Notes

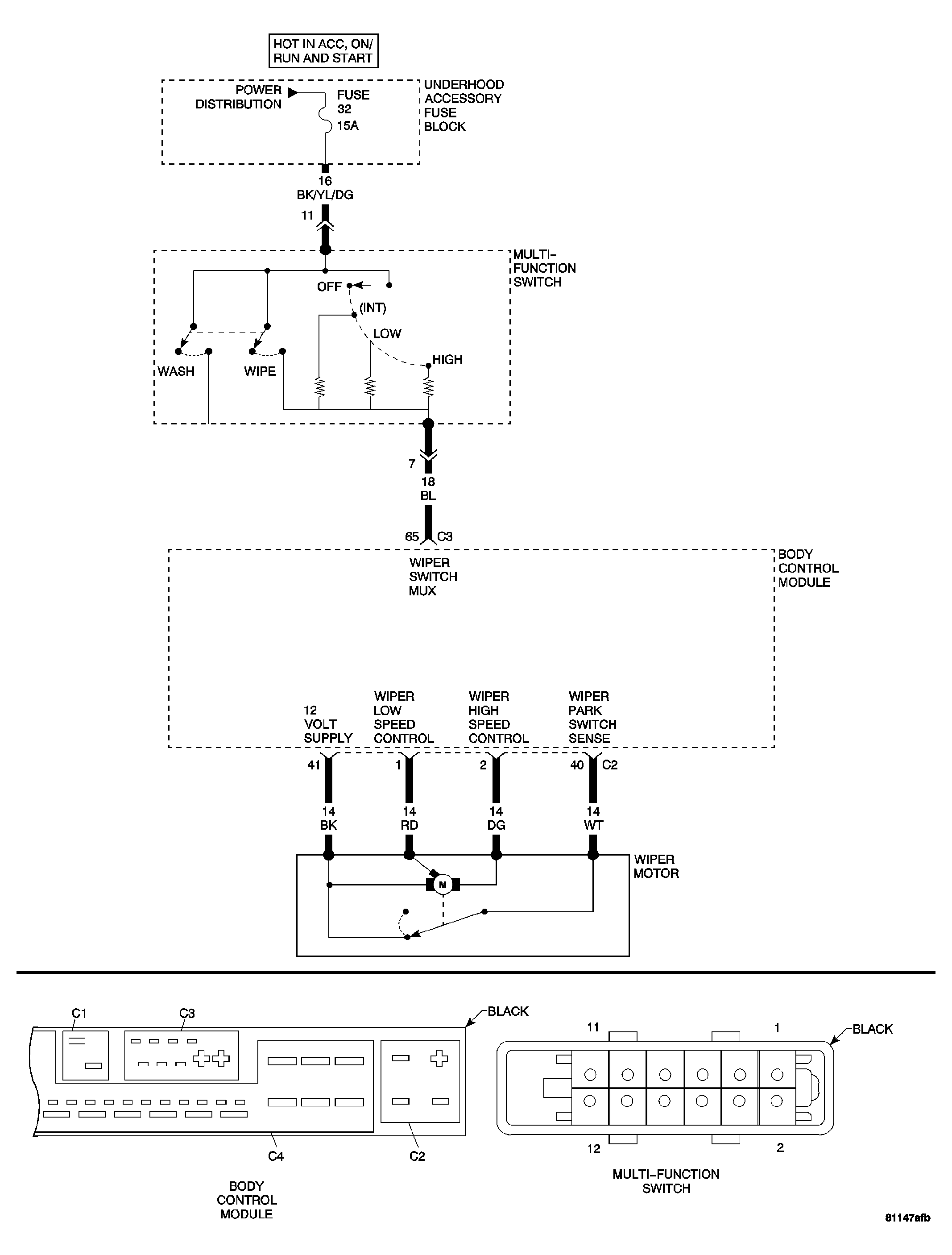
Fig 1: Wipers Circuit Schematic
GC0035786Courtesy of CHRYSLER LLC
POSSIBLE CAUSES 
MULTI-FUNCTION SWITCH
WIPER SWITCH MUX CIRCUIT OPEN
BODY CONTROL MODULE
WIPER MOTOR

For a complete Wipers/Washers Circuit Diagram, see SCHEMATICS AND DIAGRAMS .