LEMON Manuals: Even more car manuals for everyone: 1960-2025
Home >> Chrysler >> 2007 >> Crossfire Base, 2D Convertible >> Repair and Diagnosis >> Body & Frame >> Windows >> Power Windows - Electrical Diagnostics >> Power Windows - Electrical Diagnostics >> DTC Troubleshooting >> DTC 1121-05: Right Power Window Switch Sense Circuit >> Diagnostic Test
April 5, 2026: LEMON Manuals is launched! Read the announcement.

Diagnostic Test

  1. 1) MEASURE THE VOLTAGE OF THE RIGHT POWER WINDOW SWITCH SENSE CIRCUIT 
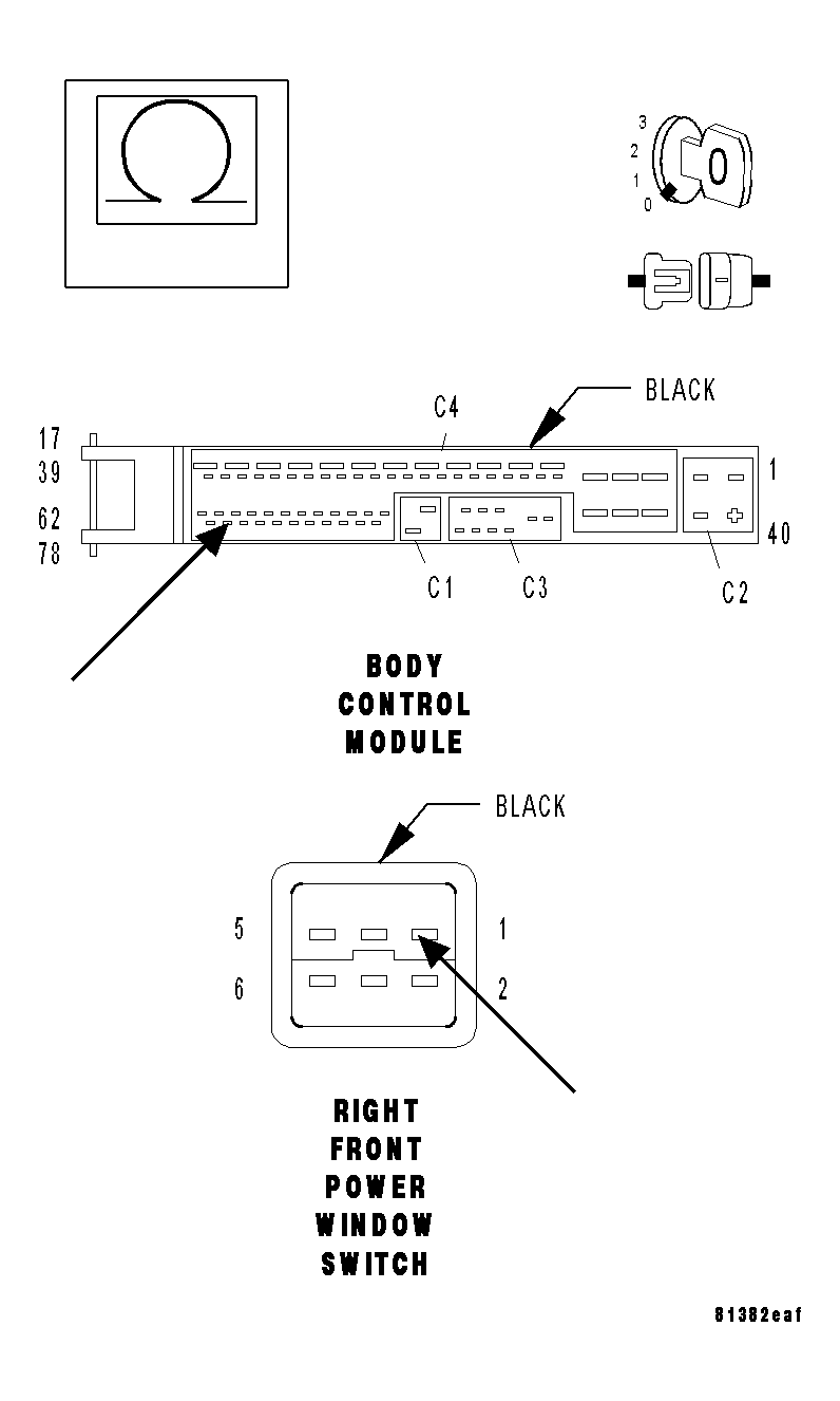
    Fig 1: Measuring Voltage Of Right Power Window Switch Sense Circuit
    GC0035563Courtesy of CHRYSLER LLC

    Turn the ignition off.

    Disconnect the Right Front Power Window Switch harness connector.

    NOTE: Check connectors - Clean/repair as necessary.

    Turn the ignition on.

    Measure the voltage of the Right Power Window Switch Sense circuit at the Right Front Power Window Switch harness connector.

    Is the voltage above 10 volts? 

    Yes 

    1. Go to  3).

    No 

    1. Go to  2).
  2. 2) MEASURE RIGHT POWER WINDOW SWITCH SENSE CIRCUIT RESISTANCE 
    Fig 2: Measuring Right Power Window Switch Sense Circuit Resistance
    GC0035564Courtesy of CHRYSLER LLC

    Turn the ignition off.

    Disconnect the Body Control Module (BCM) harness connector.

    NOTE: Check connectors - Clean/repair as necessary.

    Measure the resistance of the Right Power Window Switch Sense circuit from the Right Front Power Window Switch harness connector to the BCM C4 harness connector.

    Is the resistance below 5.0 ohms? 

    Yes 

    1. Replace the Body Control Module. Refer to REMOVAL .
    2. Perform *BODY VERIFICATION TEST .

    No 

    1. Repair the Right Power Window Switch Sense circuit for an open.
    2. Perform *BODY VERIFICATION TEST .
  3. 3) MEASURE GROUND CIRCUIT RESISTANCE 
    Fig 3: Measuring Ground Circuit Resistance
    GC0035565Courtesy of CHRYSLER LLC

    Turn the ignition off.

    Disconnect the Body Control Module (BCM) harness connector.

    NOTE: Check connectors - Clean/repair as necessary.

    Measure the resistance of the Ground circuit from the Right Front Power Window Switch harness connector to the BCM C4 harness connector.

    Is the resistance below 5.0 ohms? 

    Yes 

    1. Replace the Right Front Power Window Switch. Refer to REMOVAL .
    2. Perform *BODY VERIFICATION TEST .

    No 

    1. Repair the Ground circuit for an open.
    2. Perform *BODY VERIFICATION TEST .