LEMON Manuals: Even more car manuals for everyone: 1960-2025
Home >> Chrysler >> 2007 >> Sebring Base, 2.7 R, Gas >> Repair and Diagnosis >> Engine Performance >> Ignition System >> Ignition Control - Electrical Diagnostics >> DTC Troubleshooting >> B2184-Ignition Unlock Run/Start Control Circuit Low >> Diagnostic Test
April 5, 2026: LEMON Manuals is launched! Read the announcement.

Diagnostic Test

  1. 1) CHECK FOR ACTIVE DTC 

    With the scan tool, read the DTC's.

    Cycle the ignition switch from off to on, leaving the ignition on for a minimum of 10 seconds.

    With the scan tool, read the DTC's.

    Does the scan tool display this DTC as active? 

    Yes 

    1. Go to step  2).

    No 

    1. If the DTC is stored, check for an intermittent condition. Using the wiring diagram/schematic as a guide, visually inspect the related wiring harness connectors. Look for broken, bent, pushed out, or corroded terminals.
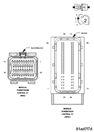
  2. 2) POWERTRAIN CONTROL MODULE (NGC/GPEC) 
    Fig 1: Measuring Voltage Of The (F901) Ignition Switch Output (Unlock/Run/Start) Circuit
    GC0058976Courtesy of CHRYSLER LLC

    Turn the ignition off.

    Disconnect the PCM C1 (NGC) or the PCM C2 (GPEC) harness connector.

    Turn the ignition on.

    Using a test light connected to ground, measure the voltage of the (F901) Ignition Switch Output (Unlock/Run/Start) circuit.

    Does the test light illuminate? 

    Yes 

    1. Replace the PCM in accordance with the service information.
    2. Perform BODY VERIFICATION TEST - VER 1 .

    No 

    1. Go to step  3).
  3. 3) (F901) IGNITION SWITCH OUTPUT (UNLOCK-RUN-START) CIRCUIT SHORT TO GROUND 
    Fig 2: Measuring For A Short To Ground On The (F901) Ignition Switch Output (Unlock/Run/Start) Circuit
    GC0058977Courtesy of CHRYSLER LLC

    Turn the ignition off.

    Disconnect the TIPM C2 harness connector.

    Using a test light connected to 12 volts, measure for a short to ground on the (F901) Ignition Switch Output (Unlock/Run/Start) circuit.

    Does the test light illuminate? 

    Yes 

    1. Repair the (F901) Ignition Switch Output (Unlock/Run/Start) circuit for a short to ground.
    2. Perform BODY VERIFICATION TEST - VER 1 .

    No 

    1. Replace the TIPM in accordance with the service information.
    2. Perform BODY VERIFICATION TEST - VER 1 .