LEMON Manuals: Even more car manuals for everyone: 1960-2025
Home >> Chrysler >> 2009 >> Sebring Base, 2D Convertible, ED3 >> Repair and Diagnosis >> Quick Lookups >> Electrical Component Locations >> Electrical Component Locator >> Component Location Graphics
April 5, 2026: LEMON Manuals is launched! Read the announcement.

Component Location Graphics

NOTE: Figures may show multiple component locations. Refer to appropriate table for proper figure references.
Fig 1: Right Front Of Engine Compartment
G00450177Courtesy of CHRYSLER LLC
Fig 2: Left Front Of Engine Compartment
G00450178Courtesy of CHRYSLER LLC
Fig 3: Left Front Of Engine Compartment
G00450179Courtesy of CHRYSLER LLC
Fig 4: Right Front Of Engine Compartment
G00450180Courtesy of CHRYSLER LLC
Fig 5: Right Front Of Engine Compartment
G00450181Courtesy of CHRYSLER LLC
Fig 6: Right Side Of Engine Compartment
G00450182Courtesy of CHRYSLER LLC
Fig 7: Left Side Of Engine Compartment
G00457349Courtesy of CHRYSLER LLC
Fig 8: Left Front Of Engine Compartment
G00450185Courtesy of CHRYSLER LLC
Fig 9: Left Rear Of Engine Compartment (2.4L)
G00457350Courtesy of CHRYSLER LLC
Fig 10: Left Rear Of Engine Compartment (3.5L)
G00457351Courtesy of CHRYSLER LLC
Fig 11: Left Side Of Engine (2.7L)
G00450188Courtesy of CHRYSLER LLC
Fig 12: Top Of Engine (2.7L)
G00450189Courtesy of CHRYSLER LLC
Fig 13: Left Side Of Engine (2.7L)
G00457352Courtesy of CHRYSLER LLC
Fig 14: Right Front Of Engine (2.7L)
G00457354Courtesy of CHRYSLER LLC
Fig 15: Left Side Of Engine (3.5L)
G00450192Courtesy of CHRYSLER LLC
Fig 16: Top Of Engine (3.5L)
G00450193Courtesy of CHRYSLER LLC
Fig 17: Left Front & Right Rear Of Engine (3.5L)
G00457355Courtesy of CHRYSLER LLC
Fig 18: Front Of Engine (3.5L)
G00450195Courtesy of CHRYSLER LLC
Fig 19: Left Side Of Manual Transmission
G00450196Courtesy of CHRYSLER LLC
Fig 20: Left Side Of Dash
G00450197Courtesy of CHRYSLER LLC
Fig 21: Left Side Of Dash
G00457356Courtesy of CHRYSLER LLC
Fig 22: Right Side Of Dash
G00450199Courtesy of CHRYSLER LLC
Fig 23: Left Side Of Dash
G00450200Courtesy of CHRYSLER LLC
Fig 24: HVAC Unit
G00450201Courtesy of CHRYSLER LLC
Fig 25: Steering Wheel
G00450202Courtesy of CHRYSLER LLC
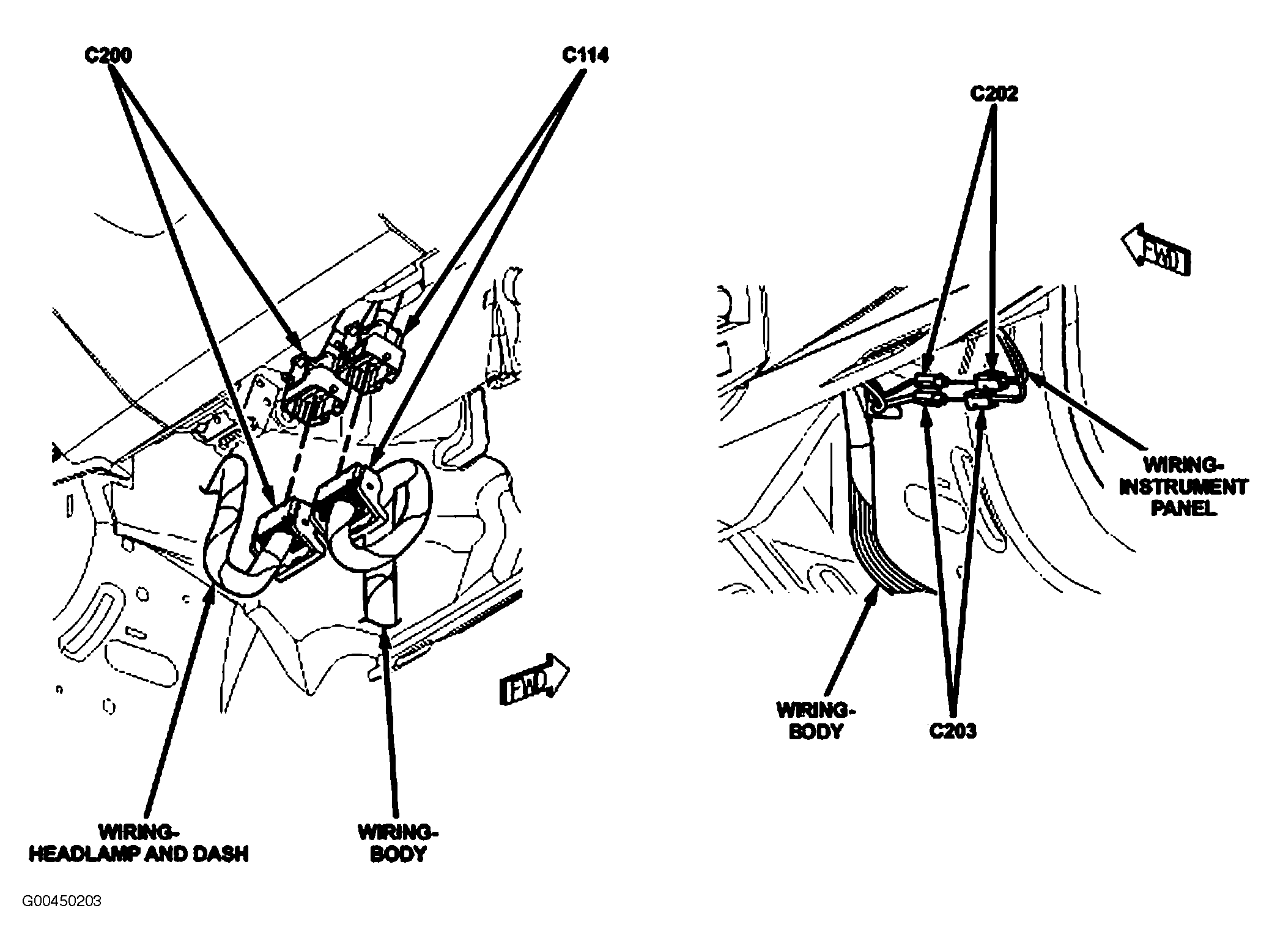
Fig 26: Left/Right End Of Dash
G00450203Courtesy of CHRYSLER LLC
Fig 27: Under Right Side Of Dash
G00450204Courtesy of CHRYSLER LLC
Fig 28: Front Center Of Roof & Right "A" Pillar (Except Convertible)
G00450205Courtesy of CHRYSLER LLC
Fig 29: Center Console
G00450207Courtesy of CHRYSLER LLC
Fig 30: Under Center Console
G00457357Courtesy of CHRYSLER LLC
Fig 31: Left Kick Panel
G00458078Courtesy of CHRYSLER LLC
Fig 32: Right Kick Panel
G00450210Courtesy of CHRYSLER LLC
Fig 33: Left "B" Pillar (Except Convertible)
G00450211Courtesy of CHRYSLER LLC
Fig 34: Right "B" Pillar (Except Convertible)
G00450212Courtesy of CHRYSLER LLC
Fig 35: Left Front Door (Except Convertible) (Right Similar)
G00450213Courtesy of CHRYSLER LLC
Fig 36: Right Rear Door (Except Convertible) (Left Similar)
G00450214Courtesy of CHRYSLER LLC
Fig 37: Fuel Tank & Left Rear Quarterpanel
G00450215Courtesy of CHRYSLER LLC
Fig 38: Right Rear Quarterpanel (Except Convertible)
G00450216Courtesy of CHRYSLER LLC
Fig 39: Left "C" Pillar (Right Similar) (Except Convertible)
G00450217Courtesy of CHRYSLER LLC
Fig 40: Left Side Of Trunk (Except Convertible)
G00450218Courtesy of CHRYSLER LLC
Fig 41: Left Rear Underbody
G00450219Courtesy of CHRYSLER LLC
Fig 42: Right Side Of Trunk (Except Convertible)
G00450220Courtesy of CHRYSLER LLC
Fig 43: Right Rear Underbody
G00450221Courtesy of CHRYSLER LLC
Fig 44: Decklid
G00450222Courtesy of CHRYSLER LLC
Fig 45: Rear Fascia
G00450223Courtesy of CHRYSLER LLC
Fig 46: Left Side Of Engine (2.4L)
G00450183Courtesy of CHRYSLER LLC
Fig 47: Top Of Engine (2.4L)
G00450206Courtesy of CHRYSLER LLC
Fig 48: Engine (2.4L)
G00450227Courtesy of CHRYSLER LLC
Fig 49: Left Side Of Engine Compartment
G00450225Courtesy of CHRYSLER LLC
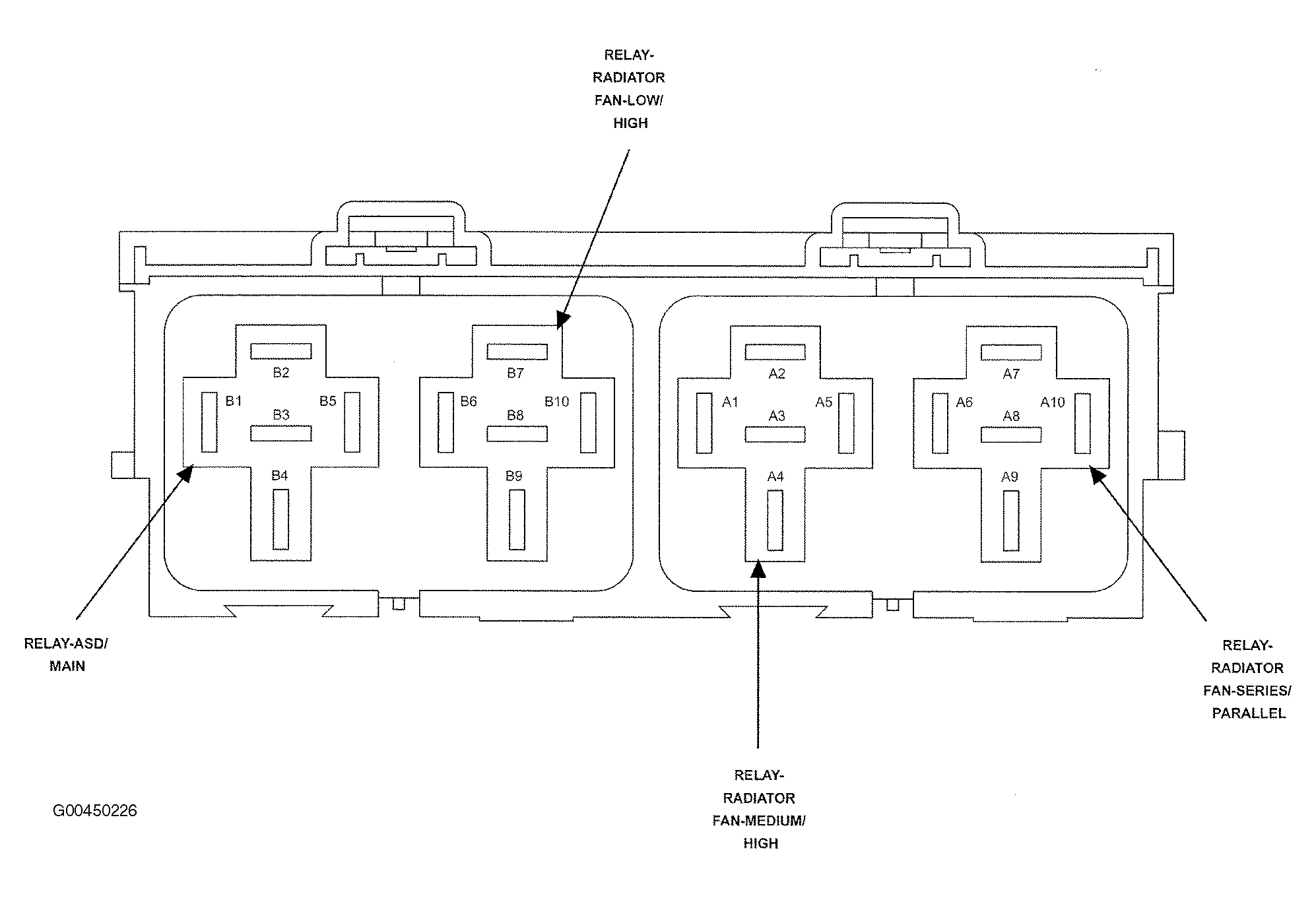
Fig 50: Relay Block
G00450226Courtesy of CHRYSLER LLC
Fig 51: Front Header (Convertible)
G00458079Courtesy of CHRYSLER LLC
Fig 52: Front Header (Convertible)
G00458080Courtesy of CHRYSLER LLC
Fig 53: Convertible Top
G00458081Courtesy of CHRYSLER LLC
Fig 54: Center Console
G00458082Courtesy of CHRYSLER LLC
Fig 55: Front Seats
G00458083Courtesy of CHRYSLER LLC
Fig 56: Left Front Door (Convertible) (Right Similar)
G00458084Courtesy of CHRYSLER LLC
Fig 57: Under Rear Of Vehicle
G00458085Courtesy of CHRYSLER LLC
Fig 58: Left Rear Quarterpanel (Convertible)
G00458086Courtesy of CHRYSLER LLC
Fig 59: Right Rear Quarterpanel (Convertible)
G00458087Courtesy of CHRYSLER LLC
Fig 60: Left Side Of Trunk (Convertible)
G00458088Courtesy of CHRYSLER LLC
Fig 61: Right Side Of Rear Shelf (Except Convertible)
G00458089Courtesy of CHRYSLER LLC
Fig 62: Right Side Of Trunk (Convertible)
G00458090Courtesy of CHRYSLER LLC
Fig 63: Trunk Lid (Convertible)
G00458091Courtesy of CHRYSLER LLC
Fig 64: Left Rear Of Engine Compartment (2.4L PZEV)
G00458092Courtesy of CHRYSLER LLC
Fig 65: Right Side Of Engine Compartment
G00466850Courtesy of CHRYSLER LLC