LEMON Manuals: Even more car manuals for everyone: 1960-2025
Home >> Eagle >> 1994 >> Vision TSi >> Repair and Diagnosis >> Engine Performance >> System >> Engine Controls - Tests W/Codes - Body Control Computer >> Connector Identification >> Body Control System Connectors
April 5, 2026: LEMON Manuals is launched! Read the announcement.

Body Control System Connectors

NOTE: For terminal identification of body control system connectors, seeFig 1 - Fig 7 . Connector terminal numbers are molded into connectors. If connector terminal identification differs from that shown in figure, use wire colors to ensure correct circuit is being tested. For wiring diagrams, see WIRING DIAGRAMS.
Fig 1: Body Control Module Connector Terminal ID
G93C40602Courtesy of CHRYSLER CORP.
Fig 2: Data Link Connector (DLC) Terminal ID
G93J40591Courtesy of CHRYSLER CORP.
Fig 3: Relay Connector Terminal ID
G92C05763Courtesy of CHRYSLER CORP.
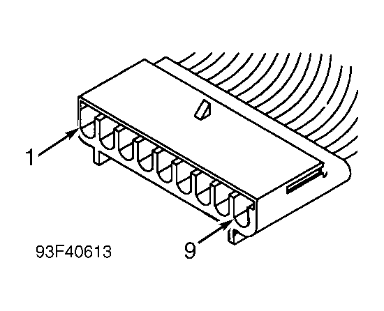
Fig 4: Message Center Connector Terminal ID
G93F40613Courtesy of CHRYSLER CORP.
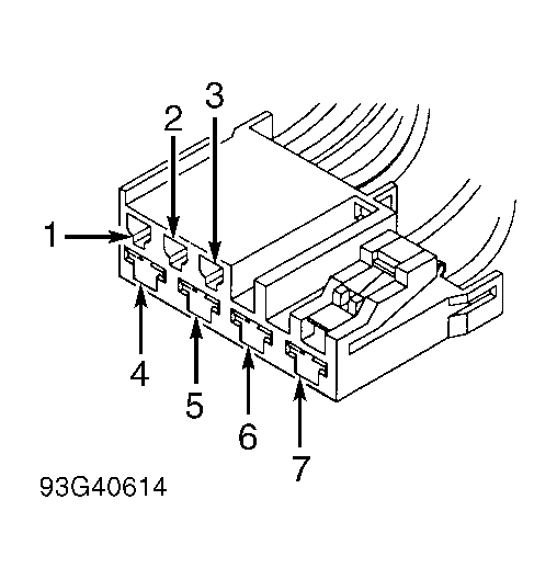
Fig 5: Multifunction Switch 7-Pin Connector Terminal ID
G93G40614Courtesy of CHRYSLER CORP.
Fig 6: Remote Keyless Entry (RKE) Module Connector Terminal ID
G93A40618Courtesy of CHRYSLER CORP.
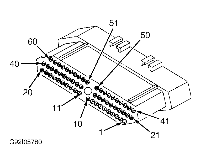
Fig 7: PCM & Transmission Control Module Connector Terminal ID
G92I05780Courtesy of CHRYSLER CORP.