LEMON Manuals: Even more car manuals for everyone: 1960-2025
Home >> Ford >> 1991 >> Taurus V6-232 3.8L >> Repair and Diagnosis >> Diagrams >> Exploded Views >> Steering Column >> With Console Shift
April 5, 2026: LEMON Manuals is launched! Read the announcement.

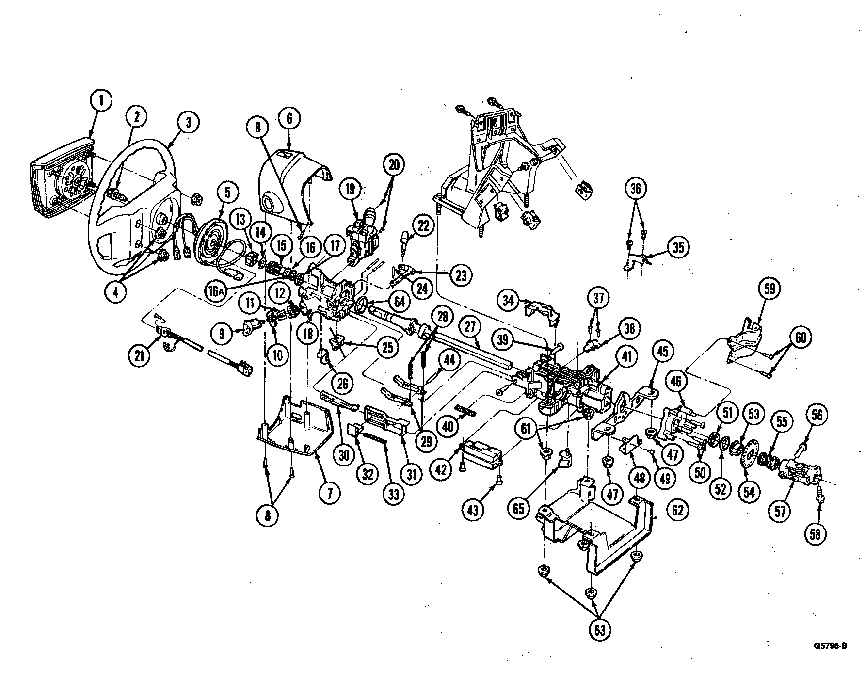
With Console Shift