LEMON Manuals: Even more car manuals for everyone: 1960-2025
Home >> Ford >> 1992 >> Taurus V6-182 3.0L >> Repair and Diagnosis >> Powertrain Management >> Ignition System >> Ignition Control Module >> Diagrams
April 5, 2026: LEMON Manuals is launched! Read the announcement.

Ignition Control Module: Diagrams

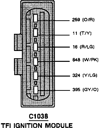
Connector Faces/Pinout Charts:



Distributor Mounted TFI-IV Ignition Module: