LEMON Manuals: Even more car manuals for everyone: 1960-2025
Home >> Ford >> 1996 >> Explorer 2D Utility, AWD >> Repair and Diagnosis (Single Page) >> Accessories & Equipment >> Wiper/Washer Systems >> Wiper System And Washer System >> Testing - Component Testing >> Wiper Switch Test
April 5, 2026: LEMON Manuals is launched! Read the announcement.

Wiper Switch Test

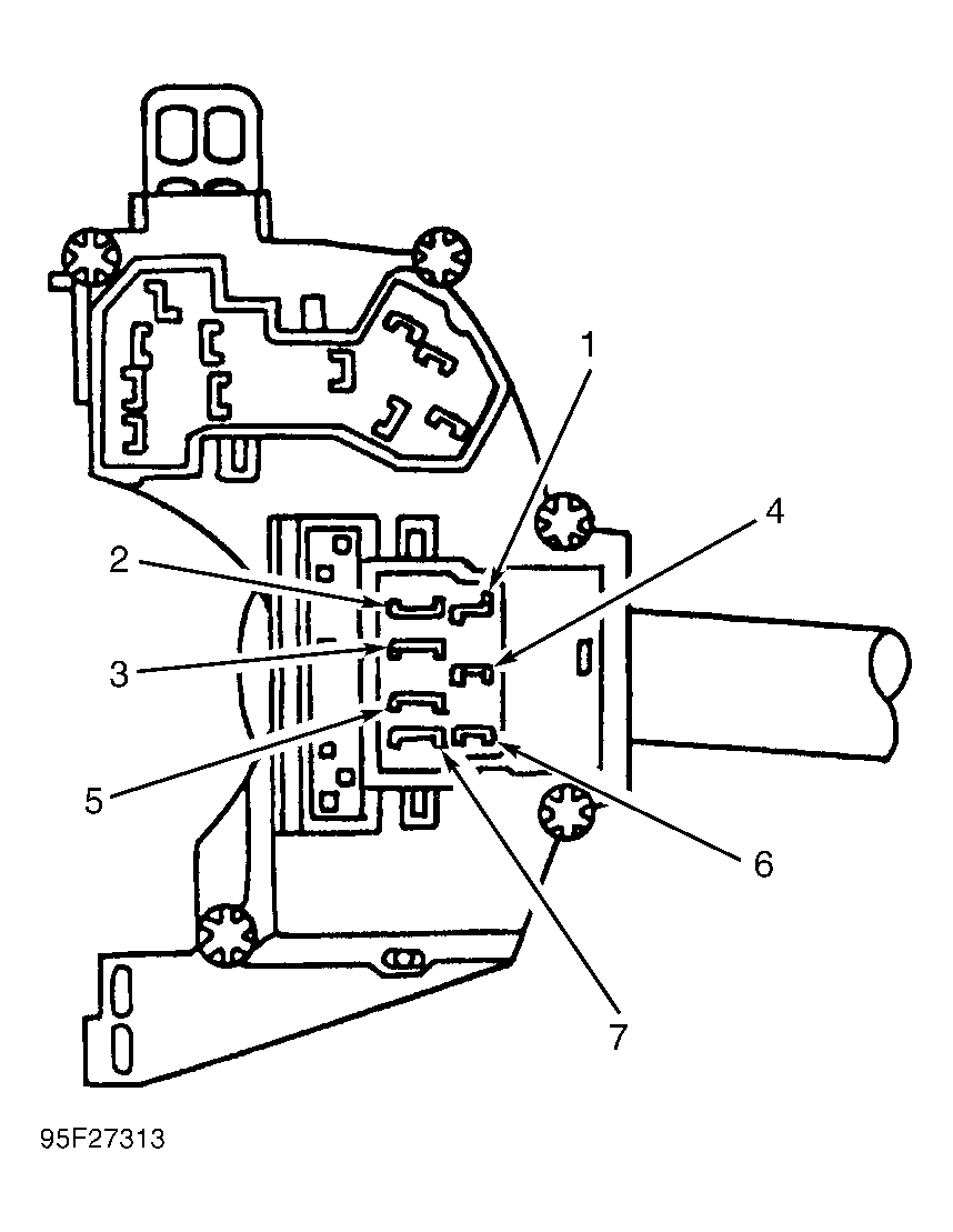
Wiper switch is incorporated into multifunction switch on steering column. Disconnect wiper switch connector. Using a DVOM, check resistance between switch terminals. See Fig 1 . See the WIPER SWITCH RESISTANCE  table below. If resistance is not as specified, replace multifunction switch.

WIPER SWITCH RESISTANCE

Switch Position Terminals No. (1) Ohms
Washer On 4 & 6 (2)
Wipers
Off 1 & 4 47,600
Low Speed 1 & 4 4080
High Speed 1 & 4 (2)
Interval (MAX) 4 & 6 (3) 103,000
Interval (MIN) 4 & 6 (3) 3300
(1) Specification can vary by as much as 10 percent.
(2) Continuity should exist.
(3) Resistance should vary smoothly between specified limits as knob is rotated between MIN and MAX positions.
Fig 1: Identifying Wiper Switch Terminals (Explorer)
G95F27313Courtesy of FORD MOTOR CO.