LEMON Manuals: Even more car manuals for everyone: 1960-2025
Home >> Ford >> 1997 >> Probe Base, Automatic >> Repair and Diagnosis >> External Pages >> Different car >> Section 49 (Wiper System And Washer System) >> Self-Diagnostics >> DTC B1441 - Wiper Front Mode Select Switch Circuit Short To Ground
April 5, 2026: LEMON Manuals is launched! Read the announcement.

DTC B1441 - Wiper Front Mode Select Switch Circuit Short To Ground

WARNING: This page is about a different car, the 1997 Mercury Sable and 1997 Ford Taurus. However, it is still accessible from the selected car via links, so may be relevant.
NOTE: If DTC B1441 is retrieved with DTC B1446, go to DTC B1446 - WIPER FRONT PARK SENSE CIRCUIT FAILURE  .
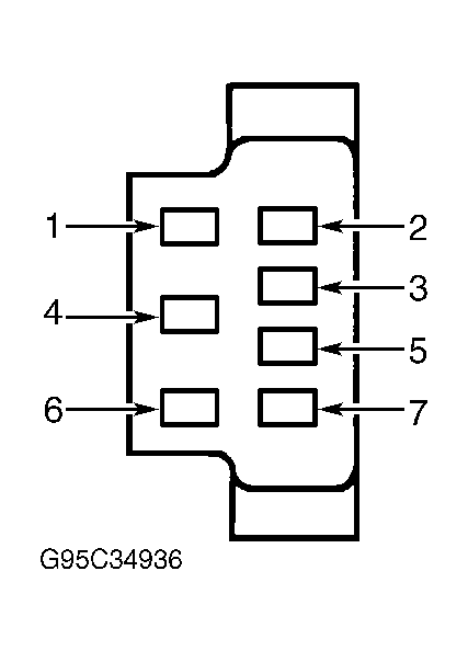
  1. Disconnect GEM connector C3. See Figure . Measure resistance between GEM connector C3, terminal No. 4 (Pink/Yellow wire) and ground. If resistance is 10 k/ohms or less, go to next step. If resistance is more than 10 k/ohms, go to step 3).
  2. Disconnect multifunction switch connector C1. See Figure . Measure resistance between connector C1, terminal No. 1 (Pink/Yellow wire) and ground. If resistance is 10 k/ohms or less, repair short to ground in circuit No. 684 (Pink/Yellow wire). If resistance is more than 10k/ohms, replace multifunction switch and retest system.
  3. Connect New Generation Star (NGS) Tester (007-00500) to Data Link Connector (DLC). Turn ignition on. Wiggle wiper/washer harness between multifunction switch and GEM. If DTC B1441 is retrieved during wiggle test, repair intermittent short to ground in circuit No. 684 (Pink/Yellow wire) and retest system. If DTC B1441 is not retrieved during wiggle test, check for DTC(s). See DIAGNOSTIC PROCEDURE  . If DTC B1441 is retrieved again, replace GEM and retestsystem.