LEMON Manuals: Even more car manuals for everyone: 1960-2025
Home >> Ford >> 2000 >> Contour SVT >> Repair and Diagnosis >> External Pages >> Different car >> Section 1497 (Cruise Control System) >> Removal And Installation >> Speed Control Cable >> Removal
April 5, 2026: LEMON Manuals is launched! Read the announcement.

Speed Control Cable: Removal

WARNING: This page is about a different car, the 2006 Mercury Mariner and 2006 Ford Escape. However, it is still accessible from the selected car via links, so may be relevant.
  1. Remove the accelerator cable snow shield.
  2. Disconnect the speed control cable from the throttle lever and accelerator cable bracket.
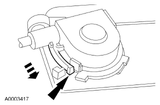
  3. Press the locking tab and rotate the speed control cable cap to remove.
    Fig 1: Removing Speed Control Cable Cap
    G04621355Courtesy of FORD MOTOR CO.
  4. Disconnect the speed control cable from the speed control actuator pulley.
    1. Gently push the retaining spring.
    2. Disconnect the speed control cable slug from the speed control actuator pulley.
      Fig 2: Disconnecting Speed Control Cable From Speed Control Actuator Pulley
      G04621356Courtesy of FORD MOTOR CO.