LEMON Manuals: Even more car manuals for everyone: 1960-2025
Home >> Ford >> 2000 >> Contour SVT >> Repair and Diagnosis >> External Pages >> Different car >> Section 523 (Engine) >> Assembly >> Engine
April 5, 2026: LEMON Manuals is launched! Read the announcement.

Section 523 (Engine): Assembly: Engine

WARNING: This page is about a different car, the 2004 Mercury Monterey and 2004 Ford Freestar. However, it is still accessible from the selected car via links, so may be relevant.

Special Tool(s) 

Fig 1: Identifying Special Tool(s) (1 Of 2)
G03244089Courtesy of FORD MOTOR CO.
Fig 2: Identifying Special Tool(s) (2 Of 2)
G03244090Courtesy of FORD MOTOR CO.
MATERIAL SPECIFICATION

Item Specification
SAE 5W-20 Premium Synthetic Blend Motor Oil XO-5W20-QSP or equivalent WSS-M2C153-H
Metal Surface Cleaner F4AZ-19A536-RA WSE-M5B392-A
Silicone Gasket and Sealant F7AZ-19554-EA WSE-M4G323-A4
Silicone Brake Caliper Grease and Dielectric Compound XG-3 ESE-M1C171-A
Pipe Sealant with Teflon® XW7Z-19554-AA WSK-M2G350-A2
CAUTION: During engine repair procedures, cleanliness is extremely important. Any foreign material, including any material created while cleaning gasket surfaces that enters the oil passages, coolant passages or the oil pan, can cause engine failure.
CAUTION: The moving components must be lubricated with clean engine oil before assembly.
CAUTION: The components with oil holes must be correctly aligned with the oil feed holes.
NOTE: For additional information, refer to the illustrations under ENGINE .
  1. If necessary, install the following:
    1. The cylinder block dowels.
    2. The oil gallery plugs.
    3. The water jacket plugs.
      Fig 3: Installing Cylinder Block Dowers, Oil Gallery & Water Jacket Plugs
      G03244091Courtesy of FORD MOTOR CO.
  2. Using the Camshaft Service Set, install the engine dynamic balance shaft bearings.
    Fig 4: Installing Engine Dynamic Balance Shaft Bearings
    G03244092Courtesy of FORD MOTOR CO.
  3. Using the Camshaft Service Set, install the camshaft bearings.
    Fig 5: Installing Camshaft Bearings
    G03244093Courtesy of FORD MOTOR CO.
  4. Install the following:
    1. engine dynamic balance shaft bearing cover
    2. camshaft bearing cover
      Fig 6: Installing Dynamic Balance Shaft & Camshaft Bearing Covers
      G03244094Courtesy of FORD MOTOR CO.
  5. If equipped, install the block heater.
    Fig 7: Installing Block Heater
    G03244095Courtesy of FORD MOTOR CO.
  6. CAUTION: Make sure the components are installed in the correct location.
    NOTE: Lubricate the crankshaft main bearings with clean engine oil prior to installation.
    Fig 8: Installing Crankshaft Upper Main Bearings And Crankshaft Upper Thrust Main Bearing
    G03244096Courtesy of FORD MOTOR CO.
  7. Install the crankshaft upper main bearings and the crankshaft upper thrust main bearing.
  8. CAUTION: The crankshaft journals must be protected from damage when installing the crankshaft.
    Fig 9: Positioning Crankshaft
    G03244097Courtesy of FORD MOTOR CO.
    CAUTION: The main bearings are precision selective fit. Inspect the bearing clearance. For additional information, refer to ENGINE SYSTEM-GENERAL INFORMATION .
  9. Position the crankshaft.
  10. NOTE: If the rear main bearing cap is not installed within four minutes, remove the sealant and reapply.
    Fig 10: Applying Silicone Gasket And Sealant To Rear Main Bearing Cap-To-Cylinder Block Parting Line
    G03244098Courtesy of FORD MOTOR CO.
  11. Clean the rear main bearing cap sealing area with metal surface cleaner. Apply silicone gasket and sealant to the rear main bearing cap-to-cylinder block parting line.
  12. Install the main bearing caps. Tighten the bolts in two stages.
    • Stage 1: Tighten to 55 Nm (41 lb-ft).
    • Stage 2: Rotate an additional 90 degrees.
    Fig 11: Installing/Tightening Main Bearing Caps Bolts
    G03244099Courtesy of FORD MOTOR CO.
  13. Using the Piston Ring Compressor, compress the piston rings.
    Fig 12: Compressing Piston Rings
    G03244100Courtesy of FORD MOTOR CO.
  14. CAUTION: Inspect the piston clearance. For additional information, refer to ENGINE SYSTEM-GENERAL INFORMATION .
    CAUTION: Do not damage the cylinder wall with the sharp edges of the connecting rod.
    NOTE: 4.2L shown, 3.9L similar.
    Fig 13: Installing Piston
    G03244101Courtesy of FORD MOTOR CO.
  15. Install the piston with the arrow on the piston face pointing toward the front of the engine.
  16. CAUTION: Inspect the connecting rod bearing clearance. For additional information, refer to ENGINE SYSTEM-GENERAL INFORMATION .
    CAUTION: The connecting rod cap will fit only one way.
    Fig 14: Installing Connecting Rod Cap
    G03244102Courtesy of FORD MOTOR CO.
  17. Position the connecting lower rod bearing and the connecting rod cap on the connecting rod and the crankshaft journal.
  18. Tighten the connecting rod cap bolts in three stages.
    • Stage 1: Tighten to 25 Nm (18 lb-ft).
    • Stage 2: Tighten to 45 Nm (33 lb-ft).
    • Stage 3: Tighten an additional 105 degrees.
    Fig 15: Tightening Connecting Rod Cap Bolts
    G03244103Courtesy of FORD MOTOR CO.
  19. Install the remaining pistons and the connecting rods.
  20. Install the oil pan baffle and the retaining nuts.
    Fig 16: Installing Oil Pan Baffle
    G03244104Courtesy of FORD MOTOR CO.
  21. Using a new gasket, install the oil pump screen cover and tube.
    Fig 17: Installing Oil Pump Screen Cover And Tube
    G03244105Courtesy of FORD MOTOR CO.
  22. CAUTION: Do not damage the camshaft lobes when installing the camshaft.
    Fig 18: Installing Camshaft, Camshaft Spacer And Camshaft Key
    G03244106Courtesy of FORD MOTOR CO.
  23. Install the camshaft, camshaft spacer and camshaft key.
  24. Install the camshaft thrust plate and bolts.
    Fig 19: Installing Camshaft Thrust Plate
    G03244107Courtesy of FORD MOTOR CO.
  25. Install the engine dynamic balance shaft assembly and bolts.
    Fig 20: Installing Engine Dynamic Balance Shaft Assembly
    G03244108Courtesy of FORD MOTOR CO.
  26. NOTE: If correctly aligned, the engine dynamic balance shaft keyway will be at 12 o'clock and the camshaft keyway will be at 6 o'clock on the camshaft.
    Fig 21: Aligning Installing Engine Balance Shaft Drive Gear
    G03244109Courtesy of FORD MOTOR CO.
  27. Install the engine balance shaft drive gear so that the timing mark lines up with the timing mark on the engine balance shaft driven gear.
  28. NOTE: Lubricate the valve tappets with clean engine oil prior to installing. If reusing the valve tappets, make sure to install them in their original location.
    Fig 22: Installing Valve Tappets
    G03244110Courtesy of FORD MOTOR CO.
  29. Install the valve tappets.
    • Install the valve tappets.
    • Install the tappet guide plates and retainers.
    • Install the bolts.
  30. Install the timing chain tensioner and bolts.
    1. Position the timing chain tensioner.
    2. Install the bolts.
      Fig 23: Installing Timing Chain Tensioner
      G03244111Courtesy of FORD MOTOR CO.
  31. If necessary, compress the tensioner pad and install a retaining pin.
    Fig 24: Compressing Tensioner Pad & Installing A Retaining Pin
    G03244112Courtesy of FORD MOTOR CO.
  32. Rotate the crankshaft so the number one piston is at top dead center (TDC) and the keyway is at the 12 o'clock position.
    Fig 25: Rotating No. 1 Piston To TDC With Crankshaft Key At 12 O'Clock Position
    G03244113Courtesy of FORD MOTOR CO.
  33. Turn the camshaft sprocket so that the keyway is on the bottom of the camshaft.
    Fig 26: Aligning Camshaft Gear Timing Mark
    G03244114Courtesy of FORD MOTOR CO.
  34. Install the timing chain, the camshaft sprocket and the crankshaft sprocket as an assembly.
    Fig 27: Installing Timing Chain, Crankshaft Gear And Camshaft Gear
    G03244115Courtesy of FORD MOTOR CO.
  35. CAUTION: All timing marks must be aligned with the No. 1 cylinder set on TDC of the compression stroke or the synchronizer assembly will not be installed correctly.
    NOTE: The crankshaft must not be turned until the camshaft synchronizer is installed.
    Fig 28: Checking Alignment Between Timing Marks And Keyways
    G03244116Courtesy of FORD MOTOR CO.
  36. Make sure the timing marks and the keyways are aligned.
  37. Remove the retaining pin.
    Fig 29: Removing Timing Chain Retaining Pin
    G03244117Courtesy of FORD MOTOR CO.
  38. Install the camshaft synchronizer drive gear and retaining bolt.
    Fig 30: Installing Camshaft Synchronizer Drive Gear
    G03244118Courtesy of FORD MOTOR CO.
  39. NOTE: Use pipe sealant with teflon on studs No. 4, 6 and bolt No. 12.
  40. Install the engine front cover studs in their original locations.
    • Tighten the engine front cover studs to 7 Nm (62 lb-in).
  41. CAUTION: The coolant pump and gasket must be installed at this time to correctly tighten all of the engine front cover fasteners in sequence.
  42. Using a new gasket install the engine front cover.
    • Using a new gasket, install the coolant pump.
    • Tighten the fasteners in the sequence shown.
      • Tighten cap screw No. 12 to 10 Nm (89 lb-in).
      • Tighten all other fasteners to 28 Nm (21 lb-ft).
      Fig 31: Engine Front Cover Bolts Tightening Sequence
      G03244119Courtesy of FORD MOTOR CO.
  43. Clean and inspect the mating surface.
  44. NOTE: Lubricate the crankshaft front seal lips with clean engine oil prior to installation.
    Fig 32: Assembling Special Tools Placing Crankshaft Front Seal Onto Special Tools
    G03244120Courtesy of FORD MOTOR CO.
  45. Assemble the special tools, then place the crankshaft front seal onto the special tools.
  46. Using the special tools, install the crankshaft front seal.
    Fig 33: Installing Crankshaft Front Seal
    G03244121Courtesy of FORD MOTOR CO.
  47. Apply a bead of silicone gasket and sealant to the keyway in the crankshaft damper. Using the special tool, position and install the crankshaft damper.
    Fig 34: Installing Crankshaft Damper
    G03244122Courtesy of FORD MOTOR CO.
  48. Install the crankshaft pulley bolt.
    Fig 35: Installing Crankshaft Pulley Bolt
    G03244123Courtesy of FORD MOTOR CO.
  49. CAUTION: After installation, do not loosen the synchronizer bolt and rotate the synchronizer assembly. The synchronizer assembly is not adjustable. Do not loosen the synchronizer bolt after the alignment tool has been removed in order to align the CMP electrical connector for any reason. If the electrical connector is not in the correct position, the synchronizer assembly must be removed, the alignment tool and the assembly reinstalled if the engine has not been rotated from top dead center TDC of the compression stroke on the No. 1 cylinder.
    CAUTION: A synchronizer alignment gauge must be used during the installation of the synchronizer assembly. Failure to follow this procedure will result in the fuel system being out of time with the engine, possibly causing engine damage.
    Fig 36: Installing Special Tool On Camshaft Synchronizer
    G03244124Courtesy of FORD MOTOR CO.
  50. Install the special tool on the camshaft synchronizer by rotating the tool until it engages the notch in the camshaft synchronizer housing.
  51. NOTE: Always coat the synchronizer drive gear with clean engine oil prior to installation.
    NOTE: During installation, the arrow on the special tool will rotate clockwise as the gears engage.
    Fig 37: Installing Camshaft Synchronizer Housing Assembly
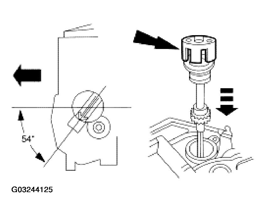
    G03244125Courtesy of FORD MOTOR CO.
  52. Install the camshaft synchronizer housing assembly so the arrow on the synchronizer alignment tool is 54 degrees from the centerline of the engine.
  53. Install the camshaft synchronizer retaining bolt.
    Fig 38: Installing Camshaft Synchronizer Retaining Bolt
    G03244126Courtesy of FORD MOTOR CO.
  54. Install the camshaft position (CMP) sensor.
    Fig 39: Installing CMP Sensor
    G03244127Courtesy of FORD MOTOR CO.
  55. NOTE: If the oil pan is not installed within four minutes, remove the sealant and reapply.
    Fig 40: Installing Oil Pan Rear Seal
    G03244128Courtesy of FORD MOTOR CO.
  56. Clean and apply the sealant to the oil pan sealing areas shown and install the oil pan rear seal.
    1. Apply silicone gasket and sealant to the rear main bearing cap.
    2. Install the oil pan rear seal.
    3. Clean the oil pan mating surfaces with metal surface cleaner and apply silicone gasket and sealant to the oil pan mating surfaces.
  57. Tighten the oil pan bolts in the sequence shown.
    Fig 41: Oil Pan Bolts Tightening Sequence
    G03244129Courtesy of FORD MOTOR CO.
  58. Install the oil pressure sensor.
    Fig 42: Installing Oil Pressure Sensor
    G03244130Courtesy of FORD MOTOR CO.
  59. NOTE: Tighten oil filter one-half turn after gasket makes contact with oil filter housing. Install a new oil filter.
    Fig 43: Installing Oil Filter
    G03244131Courtesy of FORD MOTOR CO.
    NOTE: Install the new cylinder head gaskets with the small hole to the front of the engine.
    Fig 44: Installing RH And LH Cylinder Heads
    G03244132Courtesy of FORD MOTOR CO.
  60. Using new gaskets, install the RH and the LH cylinder heads.
  61. CAUTION: Always use new bolts.
    NOTE: Lubricate the bolts with clean engine oil prior to installation.
    Fig 45: Installing Cylinder Head Bolts
    G03244133Courtesy of FORD MOTOR CO.
  62. Install the new bolts. Make sure the bolts are installed in the correct locations.
    1. Install the new long bolts.
    2. Install the new short bolts.
  63. Tighten the bolts in the sequence shown in three stages.

    Stage 1: Tighten to 20 Nm (14 lb-ft).

    Stage 2: Tighten to 40 Nm (29 lb-ft).

    Stage 3: Tighten to 50 Nm (36 lb-ft).

    Fig 46: Cylinder Head Bolts Tightening Sequence
    G03244134Courtesy of FORD MOTOR CO.
  64. CAUTION: Each bolt must be loosened and the final tightening carried out prior to working on the next bolt in the sequence. Do not loosen all of the bolts at one time.
    Fig 47: Cylinder Head Bolts Tightening Sequence
    G03244135Courtesy of FORD MOTOR CO.
  65. Carry out the following final tightening process on each bolt in the sequence shown.
    • Long bolts:
      • Loosen the long bolt and back out 3 turns.
      • Tighten the long bolt to 45 Nm (33 lb-ft).
      • Tighten the long bolt an additional 180 degrees.
      • Continue on to the next bolt in sequence.
    • Short bolts:
    • Loosen the short bolt and back out 3 turns.
    • Tighten the short bolt to 25 Nm (18 lb-ft).
    • Tighten the short bolt an additional 180 degrees.
    • Continue on to the next bolt in sequence.
  66. Install the lower exhaust manifold studs on both cylinder heads.
    Fig 48: Installing Lower Exhaust Manifold Studs
    G03244136Courtesy of FORD MOTOR CO.
  67. NOTE: Lubricate the push rods with clean engine oil prior to installation. If reusing the push rods, make sure to install them in their original location.
    Fig 49: Installing Push Rods
    G03244137Courtesy of FORD MOTOR CO.
  68. Install the 12 push rods.
  69. NOTE: If reusing the rocker arms, make sure to install them in their original location.
    Fig 50: Installing Rocker Arms
    G03244138Courtesy of FORD MOTOR CO.
  70. Install the rocker arms.
    • Position the rocker arms and pivots.
    • Hand-start the bolts.
    • Tighten the bolts in two stages.
    • Stage 1: Tighten to 5 Nm (44 lb-in).
    • Stage 2: Tighten to 32 Nm (24 lb-ft).
  71. NOTE: Inspect the valve cover gaskets for damage. Install a new gasket, if necessary.
    Fig 51: Installing Valve Covers
    G03244139Courtesy of FORD MOTOR CO.
  72. Install the valve covers.
    • Position the valve covers.
    • Install the bolts.
    • Install the stud bolts.
  73. Using a new gasket, install the RH exhaust manifold. Loosely install the RH nuts.
    Fig 52: Installing RH Exhaust Manifold
    G03244140Courtesy of FORD MOTOR CO.
  74. Tighten the bolts in the sequence shown.
    Fig 53: RH Exhaust Manifold Bolts Tightening Sequence
    G03244141Courtesy of FORD MOTOR CO.
  75. Install the heat shield and nuts.
    Fig 54: Installing Heat Shield
    G03244142Courtesy of FORD MOTOR CO.
  76. Using a new gasket, install the LH exhaust manifold. Loosely install the LH nuts.
    Fig 55: Installing LH Exhaust Manifold
    G03244143Courtesy of FORD MOTOR CO.
  77. Tighten the bolts in the sequence shown.
    Fig 56: LH Exhaust Manifold Bolts Tightening Sequence
    G03244144Courtesy of FORD MOTOR CO.
  78. Refer to the illustration for intake manifold sealing components.
    Fig 57: Identifying Intake Manifold Sealing Components
    G03244145Courtesy of FORD MOTOR CO.
  79. Install the lower intake manifold front and rear end seals.
    1. Apply a bead of silicone gasket and sealant to the intake manifold front and rear end seal mounting points as indicated.
    2. Install the lower intake manifold front and rear end seals.
    Fig 58: Installing Lower Intake Manifold Front And Rear End Seals
    G03244146Courtesy of FORD MOTOR CO.
  80. Position the intake manifold gaskets.
    Fig 59: Positioning Intake Manifold Gaskets
    G03244147Courtesy of FORD MOTOR CO.
  81. NOTE: The lower intake manifold must be installed within four minutes of applying the sealant.
    Fig 60: Positioning Lower Intake Manifold
    G03244148Courtesy of FORD MOTOR CO.
    NOTE: Make sure the bolts are installed in the correct locations. Install the six long bolts.
    Fig 61: Installing Lower Intake Manifold Long Bolts
    G03244149Courtesy of FORD MOTOR CO.
  82. Position the lower intake manifold.
    1. Apply a bead of silicone gasket and sealant to the lower intake manifold mounting at the points indicated.
    2. Position the lower intake manifold.
  83. Install the eight short bolts.
    Fig 62: Installing Lower Intake Manifold Short Bolts
    G03244150Courtesy of FORD MOTOR CO.
  84. Tighten the lower intake manifold bolts in two stages in the sequence shown.
    • Stage 1: Tighten to 5 Nm (44 lb-in).
    • Stage 2: Tighten to 10 Nm (89 lb-in).
    Fig 63: Lower Intake Manifold Bolts Tightening Sequence
    G03244151Courtesy of FORD MOTOR CO.
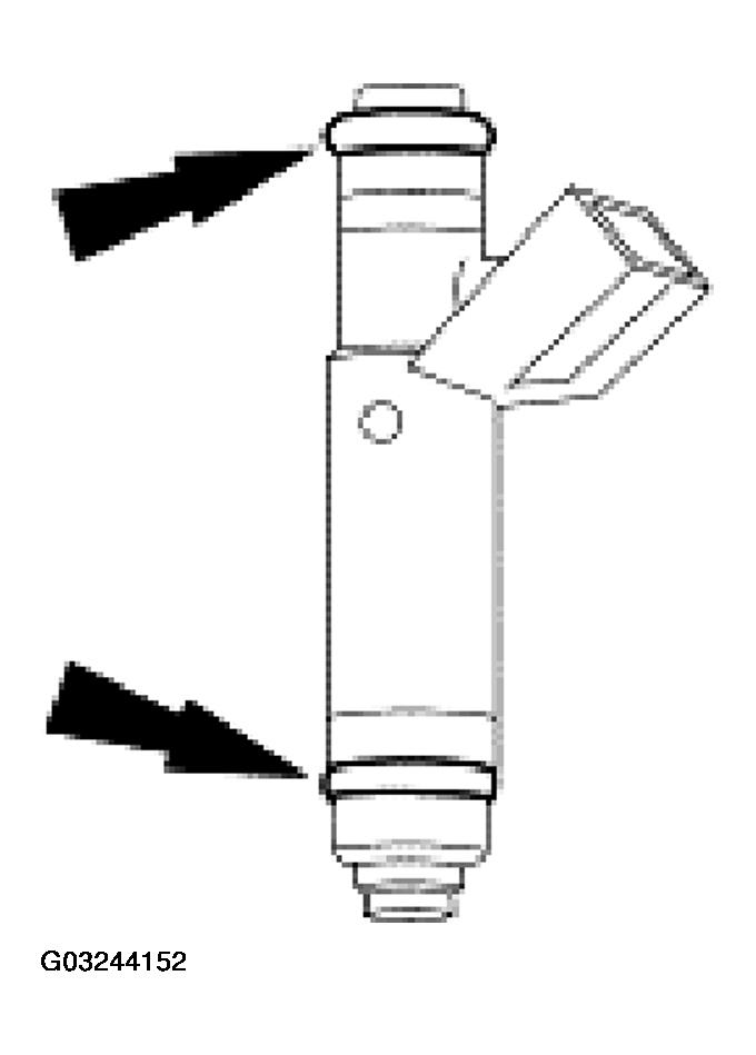
  85. Install new O-rings on the fuel injectors.
    Fig 64: Installing O-Rings On Fuel Injectors
    G03244152Courtesy of FORD MOTOR CO.
  86. NOTE: Lubricate the O-ring seals with clean engine oil to aid installation.
    Fig 65: Installing Fuel Injectors And Retaining Clips On Fuel Supply Manifold
    G03244153Courtesy of FORD MOTOR CO.
  87. Install the fuel injectors and retaining clips on the fuel supply manifold.
  88. Install the fuel supply manifold, fuel injectors and fuel charging harness as an assembly.
    • Install the bolts.
    Fig 66: Installing Fuel Supply Manifold, Fuel Injectors, And Fuel Charging Harness
    G03244154Courtesy of FORD MOTOR CO.
  89. Using new gaskets, install the upper intake manifold and bolts.
    • Tighten the upper intake manifold bolts in two stages in the sequence shown.
    • Tighten the bolts to 6 Nm (53 lb-in).
    • Tighten the bolts to 10 Nm (89 lb-in).
    Fig 67: Upper Intake Manifold Bolts Tightening Sequence
    G03244155Courtesy of FORD MOTOR CO.
  90. Position the engine harness onto the engine and connect the engine harness-to-fuel charging harness electrical connector.
    Fig 68: Connecting Engine Harness-To-Fuel Charging Harness Electrical Connector
    G03244156Courtesy of FORD MOTOR CO.
  91. Position the vacuum harness onto the engine and connect the two vacuum harness connections.
    Fig 69: Connecting Two Vacuum Harness Connections
    G03244157Courtesy of FORD MOTOR CO.
  92. Install the ignition coil.
    Fig 70: Installing Ignition Coil
    G03244158Courtesy of FORD MOTOR CO.
  93. Install the engine harness pin-type retainer and connect the ignition coil electrical connector.
    Fig 71: Connecting Ignition Coil Electrical Connector
    G03244159Courtesy of FORD MOTOR CO.
  94. NOTE: Do not tighten the exhaust gas recirculation (EGR) system module-to-manifold tube lower fitting.
    Fig 72: Installing EGR System Module-To-Manifold Tube
    G03244160Courtesy of FORD MOTOR CO.
  95. Install the EGR system module-to-manifold tube.
  96. Connect the following.
    1. Idle air control (IAC) electrical connector
    2. Throttle position (TP) sensor electrical connector
    3. Exhaust gas recirculation (EGR) system module electrical connector
    4. EGR system module vacuum connector
    5. EGR system module-to-exhaust manifold tube upper fitting
    Fig 73: Connecting IAC, TP Sensor, EGR System Module, Vacuum Connector & EGR Tube
    G03244161Courtesy of FORD MOTOR CO.
  97. Tighten the exhaust gas recirculation (EGR) system module-to-manifold tube lower fitting.
    Fig 74: Tightening EGR System Module-To-Manifold Tube Lower Fitting
    G03244162Courtesy of FORD MOTOR CO.
  98. Connect the cylinder head temperature (CHT) sensor electrical connector.
    Fig 75: Connecting CHT Sensor Electrical Connector
    G03244163Courtesy of FORD MOTOR CO.
  99. Install the four engine harness pin-type retainers.
    Fig 76: Installing Engine Harness Pin-Type Retainers
    G03244164Courtesy of FORD MOTOR CO.
  100. NOTE: Apply dielectric grease to the inside of the spark plug wire boots before attaching to the spark plugs and the ignition coil.
    Fig 77: Installing/Connecting Spark Plug Wires And Retainers
    G03244165Courtesy of FORD MOTOR CO.
  101. Install and connect the spark plug wires and retainers as an assembly.
  102. NOTE: Install a new oil level indicator tube O-ring seal.
    Fig 78: Installing Oil Level Indicator Tube
    G03244166Courtesy of FORD MOTOR CO.
  103. Install the oil level indicator tube and the retaining nut.
  104. Connect the positive crankcase ventilation (PCV) valve electrical connector and install the PCV hose.
    Fig 79: Installing PCV Valve Electrical Connector & PCV Hose
    G03244167Courtesy of FORD MOTOR CO.
  105. Connect the intake manifold runner control (IMRC) electrical connector.
    Fig 80: Connecting IMRC Electrical Connector
    G03244168Courtesy of FORD MOTOR CO.
  106. Connect the camshaft position (CMP) sensor electrical connector.
    Fig 81: Connecting CMP Sensor Electrical Connector
    G03244169Courtesy of FORD MOTOR CO.
  107. Connect the oil pressure sensor electrical connector and install the engine harness pin-type retainer.
    Fig 82: Connecting Oil Pressure Sensor & Installing Engine Harness Pin-Type Retainer
    G03244170Courtesy of FORD MOTOR CO.
  108. Install the RH engine mount bracket.
    Fig 83: Installing RH Engine Mount Bracket
    G03244171Courtesy of FORD MOTOR CO.
  109. Install the catalyst monitor sensor electrical connector bracket.
    Fig 84: Installing Catalyst Monitor Sensor Electrical Connector Bracket
    G03244172Courtesy of FORD MOTOR CO.
  110. Connect the crankshaft position (CKP) sensor electrical connectors.
    Fig 85: Connecting CKP Sensor Electrical Connectors
    G03244173Courtesy of FORD MOTOR CO.
  111. Install the power steering pump bracket and mounting bolts.
    Fig 86: Installing Power Steering Pump Bracket Mounting Bolts
    G03244174Courtesy of FORD MOTOR CO.
  112. Install the accessory drive belt tensioner and bolts.
    Fig 87: Installing Accessory Drive Belt Tensioner
    G03244175Courtesy of FORD MOTOR CO.
  113. NOTE: Install a new coolant pump outlet tube O-ring and lubricate with clean engine coolant.
    Fig 88: Installing Coolant Pump Outlet Tube
    G03244176Courtesy of FORD MOTOR CO.
  114. Install the coolant pump outlet tube.
    • Install the two bolts.
    • Connect the three coolant hoses.
    • Reposition the clamps.
  115. Install the A/C compressor bracket.
    Fig 89: Installing A/C Compressor Bracket
    G03244177Courtesy of FORD MOTOR CO.
  116. Install the A/C compressor mounting bracket brace and generator mounting bracket as an assembly.
    • Install the bolts.
    Fig 90: Installing A/C Compressor Mounting Bracket Brace And Generator Mounting Bracket Assembly
    G03244178Courtesy of FORD MOTOR CO.
  117. Install the coolant extension tube and bracket.
    Fig 91: Installing Coolant Extension Tube And Bracket
    G03244179Courtesy of FORD MOTOR CO.
  118. Install the generator and bolts.
    Fig 92: Installing Generator
    G03244180Courtesy of FORD MOTOR CO.
  119. Connect the generator.
    • Install the B+ wire terminal and nut.
    • Connect the generator electrical connector.
    Fig 93: Connecting Generator Electrical Connectors
    G03244181Courtesy of FORD MOTOR CO.
  120. Install the accessory drive idler pulley.
    Fig 94: Installing Accessory Drive Idler Pulley
    G03244182Courtesy of FORD MOTOR CO.
  121. Install the coolant pump pulley and bolts.
    Fig 95: Installing Coolant Pump Pulley
    G03244183Courtesy of FORD MOTOR CO.
  122. Install the special tools.
    Fig 96: Installing Special Tools
    G03244184Courtesy of FORD MOTOR CO.
  123. Install the engine lifting equipment.
    Fig 97: Installing Engine Lifting Equipment
    G03244185Courtesy of FORD MOTOR CO.
  124. Remove the engine from the stand.
  125. NOTE: Lubricate the crankshaft rear seal lips with clean engine oil prior to installation.
    Fig 98: Assembling Special Tools And Crankshaft Rear Seal
    G03244186Courtesy of FORD MOTOR CO.
  126. Assemble the special tools and the crankshaft rear seal.
  127. Install the special tools on the rear of the crankshaft.
    Fig 99: Installing Special Tools On Rear Of Crankshaft
    G03244187Courtesy of FORD MOTOR CO.
  128. Install the crankshaft rear seal. Tighten the center jack screw (303-S560) until the spacer (303-561) contacts the engine block.
    Fig 100: Installing Crankshaft Rear Seal
    G03244188Courtesy of FORD MOTOR CO.
  129. Install the flywheel and bolts.
Fig 101: Installing Flywheel Bolts
G03244189Courtesy of FORD MOTOR CO.