LEMON Manuals: Even more car manuals for everyone: 1960-2025
Home >> Ford >> 2000 >> Contour SVT >> Repair and Diagnosis >> External Pages >> Different car >> Section 523 (Engine) >> Disassembly >> Engine
April 5, 2026: LEMON Manuals is launched! Read the announcement.

Section 523 (Engine): Disassembly: Engine

WARNING: This page is about a different car, the 2004 Mercury Monterey and 2004 Ford Freestar. However, it is still accessible from the selected car via links, so may be relevant.

Special Tool(s) 

Fig 1: Identifying Special Tool(s)
G03244003Courtesy of FORD MOTOR CO.
MATERIAL SPECIFICATION

Item Specification
Motorcraft Silicone Gasket Remover ZC-30 -
Motorcraft Metal Surface Prep ZC-31 -
CAUTION: During engine repair procedures, cleanliness is extremely important. Any foreign material, including any material created while cleaning gasket surfaces that enters the oil passages, coolant passages or the oil pan, can cause engine failure.
NOTE: For additional information, refer to the illustrations under ENGINE .
  1. Remove the bolts and the flywheel.
    Fig 2: Removing Flywheel
    G03244004Courtesy of FORD MOTOR CO.
  2. Using the special tools, remove the crankshaft rear seal.
    Fig 3: Removing Crankshaft Rear Seal
    G03244005Courtesy of FORD MOTOR CO.
  3. Mount the engine on a suitable stand.
  4. Remove the bolts and the coolant pump pulley.
    Fig 4: Removing Coolant Pump Pulley
    G03244006Courtesy of FORD MOTOR CO.
  5. Remove the accessory drive belt idler pulley.
    Fig 5: Removing Accessory Drive Belt Idler Pulley
    G03244007Courtesy of FORD MOTOR CO.
  6. Disconnect the generator.
    • Remove the B+ wire terminal.
    • Disconnect the generator electrical connector.
    Fig 6: Disconnecting Generator Electrical Connectors
    G03244008Courtesy of FORD MOTOR CO.
  7. Remove the bolts and the generator.
    Fig 7: Removing Generator
    G03244009Courtesy of FORD MOTOR CO.
  8. Remove the bolt and the coolant pump extension tube and bracket.
    Fig 8: Removing Coolant Pump Extension Tube And Bracket
    G03244010Courtesy of FORD MOTOR CO.
  9. Remove the A/C compressor mounting bracket brace and generator mounting bracket as an assembly.
    • Remove the bolts.
    Fig 9: Removing A/C Compressor Mounting Bracket Brace And Generator Mounting Brackets
    G03244011Courtesy of FORD MOTOR CO.
  10. Remove the bolts and the A/C compressor bracket.
    Fig 10: Removing Bolts And A/C Compressor Bracket
    G03244012Courtesy of FORD MOTOR CO.
  11. NOTE: Remove and discard the coolant pump outlet tube O-ring.
    Fig 11: Removing Coolant Pump Outlet Tube
    G03244013Courtesy of FORD MOTOR CO.
  12. Remove the coolant pump outlet tube.
    • Disconnect the three coolant hoses.
    • Reposition the clamps.
    • Remove the two bolts and the coolant pump outlet tube.
  13. Remove the bolts and the accessory drive belt tensioner.
    Fig 12: Removing Accessory Drive Belt Tensioner
    G03244014Courtesy of FORD MOTOR CO.
  14. Remove the bolts and the power steering pump bracket.
    Fig 13: Removing Power Steering Pump Bracket
    G03244015Courtesy of FORD MOTOR CO.
  15. Disconnect the crankshaft position (CKP) sensor electrical connector.
    Fig 14: Disconnecting CKP Sensor Electrical Connector
    G03244016Courtesy of FORD MOTOR CO.
  16. Remove the catalyst monitor sensor electrical connector mounting bracket.
    Fig 15: Removing Catalyst Monitor Sensor Electrical Connector Mounting Bracket
    G03244017Courtesy of FORD MOTOR CO.
  17. Remove the bolts and the RH engine mount bracket.
    Fig 16: Removing RH Engine Mount Bracket
    G03244018Courtesy of FORD MOTOR CO.
  18. Disconnect the oil pressure sensor electrical connector and remove the engine harness pin-type retainer.
    Fig 17: Disconnecting Oil Pressure Sensor & Harness Pin-Type Retainer
    G03244019Courtesy of FORD MOTOR CO.
  19. Disconnect the camshaft position (CMP) sensor electrical connector.
    Fig 18: Disconnecting CMP Sensor Electrical Connector
    G03244020Courtesy of FORD MOTOR CO.
  20. Disconnect the intake manifold runner control (IMRC) electrical connector.
    Fig 19: Disconnecting IMRC Electrical Connector
    G03244021Courtesy of FORD MOTOR CO.
  21. Disconnect the positive crankcase ventilation (PCV) valve electrical connector and remove the PCV hose.
    Fig 20: Removing PCV Valve
    G03244022Courtesy of FORD MOTOR CO.
  22. Remove the bolt and the oil level indicator and tube.
    Fig 21: Removing Oil Level Indicator And Tube
    G03244023Courtesy of FORD MOTOR CO.
  23. CAUTION: It is important to twist the spark plug wire boots while pulling upward to avoid possible damage to the spark plug wire.
    NOTE: Spark plug wires must be connected to the correct ignition coil terminal. Mark spark plug wire locations before removing them.
    Fig 22: Disconnecting Spark Plug Wires And Retainers
    G03244024Courtesy of FORD MOTOR CO.
  24. Disconnect and remove the spark plug wires and retainers as an assembly.
  25. Remove the four engine harness pin-type retainers.
    Fig 23: Removing Four Engine Harness Pin-Type Retainers
    G03244025Courtesy of FORD MOTOR CO.
  26. Disconnect the cylinder head temperature (CHT) sensor electrical connector.
    Fig 24: Disconnecting CHT Sensor Electrical Connector
    G03244026Courtesy of FORD MOTOR CO.
  27. Disconnect the following.
    1. Idle air control (IAC) electrical connector
    2. Throttle position (TP) sensor electrical connector
    3. Exhaust gas recirculation (EGR) system module electrical connector
    4. EGR system module vacuum connector
    5. EGR system module-to-exhaust manifold tube upper fitting
      Fig 25: Disconnecting IAC, TP, EGR And EGR System Module Vacuum Connector
      G03244027Courtesy of FORD MOTOR CO.
  28. Loosen the nut and remove the EGR system module-to-exhaust manifold tube.
    Fig 26: Removing EGR System Module-To-Exhaust Manifold Tube
    G03244028Courtesy of FORD MOTOR CO.
  29. Disconnect the ignition coil electrical connector and remove the engine harness pin-type retainer.
    Fig 27: Disconnecting Ignition Coil Electrical Connector
    G03244029Courtesy of FORD MOTOR CO.
  30. Remove the bolts and the ignition coil.
    Fig 28: Removing Ignition Coil
    G03244030Courtesy of FORD MOTOR CO.
  31. Disconnect the two vacuum harness connections and remove the vacuum harness from the engine.
    Fig 29: Disconnecting Two Vacuum Harness Connections
    G03244031Courtesy of FORD MOTOR CO.
  32. Disconnect the engine harness-to-fuel charging harness electrical connector and remove the engine harness from the engine.
    Fig 30: Removing Engine Harness
    G03244032Courtesy of FORD MOTOR CO.
  33. Remove the upper intake manifold and discard the gaskets.
    Fig 31: Removing Upper Intake Manifold And Discard Gaskets
    G03244033Courtesy of FORD MOTOR CO.
  34. Remove the bolts and the fuel supply manifold, fuel injectors and fuel charging harness as an assembly.
    Fig 32: Removing Fuel Supply Manifold
    G03244034Courtesy of FORD MOTOR CO.
  35. Remove the fuel injector clips and fuel injectors.
    Fig 33: Removing Fuel Injector Clips And Fuel Injectors
    G03244035Courtesy of FORD MOTOR CO.
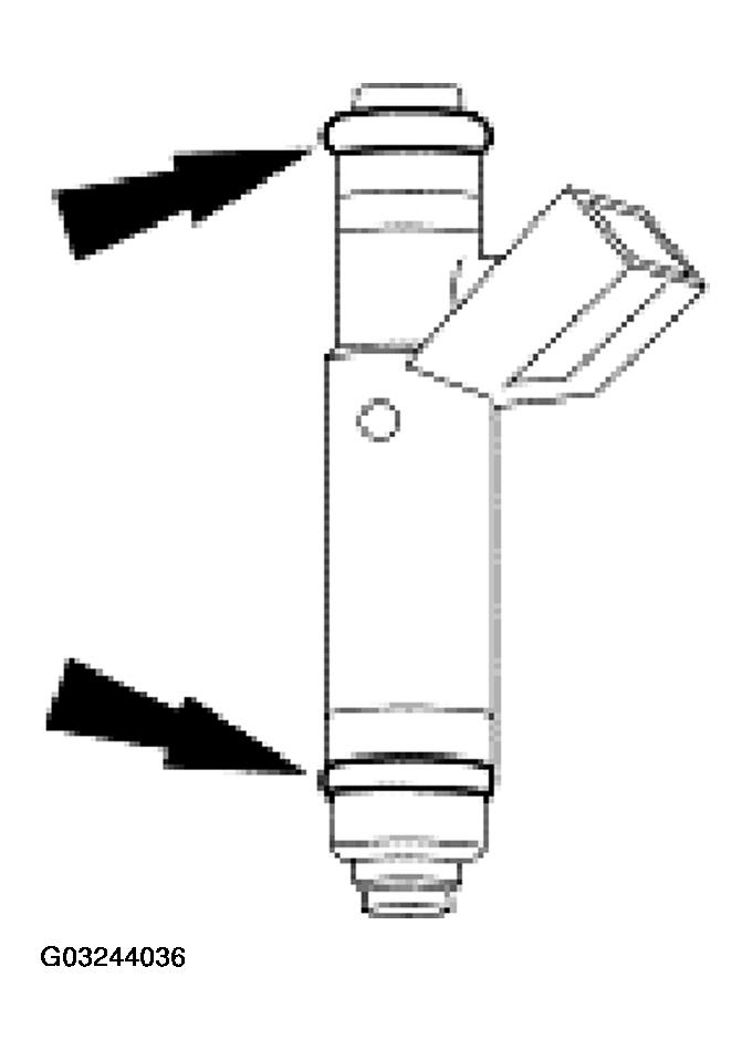
  36. Remove and discard the fuel injector O-rings.
    Fig 34: Removing Discard Fuel Injector O-Rings
    G03244036Courtesy of FORD MOTOR CO.
  37. NOTE: Record the location of the six long bolts and the eight short bolts.
    Fig 35: Removing Lower Intake Manifold Assembly
    G03244037Courtesy of FORD MOTOR CO.
  38. Remove the bolts and the lower intake manifold assembly.
  39. Remove and discard the lower intake manifold sealing components.
    Fig 36: Removing Lower Intake Manifold Sealing Components
    G03244038Courtesy of FORD MOTOR CO.
  40. Remove the nuts and the heat shield.
    Fig 37: Removing Heat Shield
    G03244039Courtesy of FORD MOTOR CO.
  41. Remove the nuts and the RH exhaust manifold.
    Fig 38: Removing RH Exhaust Manifold
    G03244040Courtesy of FORD MOTOR CO.
  42. Remove the nuts and the LH exhaust manifold.
    Fig 39: Removing LH Exhaust Manifold
    G03244041Courtesy of FORD MOTOR CO.
  43. Clean and inspect the exhaust manifolds. For additional information, refer to EXHAUST MANIFOLD - INSPECTION .
  44. Remove the LH valve cover.
    1. Remove the bolts.
    2. Remove the stud bolts.
    3. Remove the LH valve cover.
    Fig 40: Removing LH Valve Cover
    G03244042Courtesy of FORD MOTOR CO.
  45. Remove the RH valve cover.
    1. Remove the bolts.
    2. Remove the stud bolts.
    3. Remove the RH valve cover.
    Fig 41: Removing RH Valve Cover
    G03244043Courtesy of FORD MOTOR CO.
    CAUTION: If the components are to be reinstalled, they must be installed into the same position. Mark the components for location.
  46. NOTE: If the rocker arms are to be reinstalled, they must be installed into their original location. Mark the rocker arms for location.
    Fig 42: Removing Rocker Arms
    G03244044Courtesy of FORD MOTOR CO.
  47. Remove the rocker arms.
    1. Remove the bolts.
    2. Remove the rocker arms and pivots.
  48. NOTE: If the push rods are to be reinstalled, they must be installed into their original location. Mark the push rods for location.
    Fig 43: Removing Push Rods
    G03244045Courtesy of FORD MOTOR CO.
  49. Remove the push rods.
  50. Remove the lower exhaust manifold studs from both cylinder heads.
    Fig 44: Removing Lower Exhaust Manifold Studs From Both Cylinder Heads
    G03244046Courtesy of FORD MOTOR CO.
  51. NOTE: Record the location of long and short bolts.
    Fig 45: Removing Cylinder Head Bolts
    G03244047Courtesy of FORD MOTOR CO.
  52. Remove and discard the cylinder head bolts.
  53. Remove the LH cylinder head and the gasket. Discard the gasket.
    Fig 46: Removing LH Cylinder Head And Gasket
    G03244048Courtesy of FORD MOTOR CO.
  54. Remove the RH cylinder head and the gasket. Discard the gasket.
    Fig 47: Removing RH Cylinder Head And Gasket
    G03244049Courtesy of FORD MOTOR CO.
  55. CAUTION: Do not use metal scrapers, wire brushes, power abrasive discs or other abrasive means to clean the sealing surfaces. These tools cause scratches and gouges that make leak paths. Use a plastic scraping tool to remove all traces of the head gasket.
    CAUTION: Observe all warnings or cautions and follow all application directions contained on the packaging of the silicone gasket remover and the metal surface prep.
    NOTE: If there is no residual gasket material present, metal surface prep can be used to clean and prepare the surfaces.
  56. Clean the cylinder head-to-cylinder block mating surfaces of both the cylinder heads and the cylinder block.
    1. Remove any large deposits of silicone or gasket material with a plastic scraper.
    2. Apply silicone gasket remover, following package directions, and allow to set for several minutes.
    3. Remove the silicone gasket remover with a plastic scraper. A second application of silicone gasket remover may be required if residual traces of silicone or gasket material remain.
    4. Apply metal surface prep, following package directions, to remove any traces of oil or coolant, and to prepare the surfaces to bond with the new gasket. Do not attempt to make the metal shiny. Some staining of the metal surfaces is normal.
  57. Inspect the cylinder heads for distortion. For additional information, refer to CYLINDER HEAD - DISTORTION .
  58. Remove the oil filter.
    Fig 48: Removing Oil Filter
    G03244050Courtesy of FORD MOTOR CO.
  59. Remove the oil pressure sensor.
    Fig 49: Removing Oil Pressure Sensor
    G03244051Courtesy of FORD MOTOR CO.
  60. NOTE: Discard the oil pan rear seal.
    Fig 50: Removing Oil Pan
    G03244052Courtesy of FORD MOTOR CO.
  61. Remove the bolts and the oil pan.
  62. NOTE: In some cases the oil pump intermediate shaft may not come out with the synchronizer assembly. If so, retrieve the intermediate shaft before proceeding.
    Fig 51: Removing Camshaft Synchronizer Assembly
    G03244053Courtesy of FORD MOTOR CO.
  63. Remove the bolt and the camshaft synchronizer assembly.
  64. Using the special tool, remove the crankshaft damper and pulley assembly.
    Fig 52: Removing Crankshaft Damper And Pulley Assembly
    G03244054Courtesy of FORD MOTOR CO.
  65. Using the special tool, remove the crankshaft front seal. Discard the seal.
    Fig 53: Removing Crankshaft Front Seal
    G03244055Courtesy of FORD MOTOR CO.
  66. Remove the coolant pump.
    • Remove the stud bolts.
    • Remove the coolant pump.
    • Discard the coolant pump housing gasket.
    Fig 54: Removing Coolant Pump
    G03244056Courtesy of FORD MOTOR CO.
  67. Remove the engine front cover and oil pump assembly and the engine front cover gasket.
    1. Remove the stud bolts.
    2. Remove the bolt.
    3. CAUTION: The cap screw is hidden; make sure to remove it or the engine front cover will be damaged.
    4. Remove the cap screw.
    5. Slide the engine front cover and engine front cover gasket from the dowels. Discard the engine front cover gasket.
    6. Remove the studs.
      Fig 55: Removing Engine Front Cover And Oil Pump Assembly
      G03244057Courtesy of FORD MOTOR CO.
  68. Remove the camshaft synchronizer drive gear.
    1. Remove the bolt.
    2. Remove the camshaft synchronizer drive gear.
    Fig 56: Removing Camshaft Synchronizer Drive Gear
    G03244058Courtesy of FORD MOTOR CO.
  69. Compress and install a retaining pin to hold the timing chain tensioner.
    Fig 57: Installing Retaining Pin To Hold Timing Chain Tensioner
    G03244059Courtesy of FORD MOTOR CO.
  70. Remove the camshaft gear, the crankshaft gear and the timing chain as an assembly.
    Fig 58: Removing Camshaft Gear, Crankshaft Gear And Timing Chain
    G03244060Courtesy of FORD MOTOR CO.
  71. Remove the bolts and the timing chain tensioner.
    1. Remove the bolts.
    2. Remove the timing chain tensioner.
      Fig 59: Removing Timing Chain Tensioner
      G03244061Courtesy of FORD MOTOR CO.
  72. NOTE: If the valve tappets are to be reinstalled, they must be installed into their original location. Mark the valve tappets for location.
    Fig 60: Removing Valve Tappets
    G03244062Courtesy of FORD MOTOR CO.
  73. Remove the valve tappets.
    1. Remove the bolts.
    2. Remove the tappet guide plate and retainer.
    3. Remove the valve tappets.
  74. Remove the engine balance shaft drive gear and camshaft key.
    Fig 61: Removing Engine Balance Shaft Drive Gear And Camshaft Key
    G03244063Courtesy of FORD MOTOR CO.
  75. Remove the engine dynamic balance shaft.
    • Remove the bolts.
    • Remove the balance shaft driven gear, thrust plate and engine dynamic balance shaft as an assembly.
    Fig 62: Removing Balance Shaft Driven Gear, Thrust Plate And Engine Dynamic Balance Shaft
    G03244064Courtesy of FORD MOTOR CO.
  76. Remove the camshaft.
    1. Remove the bolts.
    2. Remove the camshaft thrust plate.
    3. Remove the spacer.
    4. Remove the camshaft.
    Fig 63: Remove Camshaft
    G03244065Courtesy of FORD MOTOR CO.
  77. Remove the bearing covers.
    1. Remove the engine dynamic balance shaft bearing cover.
    2. Remove the camshaft bearing cover.
    Fig 64: Removing Camshaft Bearing Covers
    G03244066Courtesy of FORD MOTOR CO.
  78. Remove the oil pump screen cover and tube.
    • Remove the nut.
    • Remove the bolts.
    Fig 65: Removing Oil Pump Screen Cover And Tube
    G03244067Courtesy of FORD MOTOR CO.
  79. Remove the nuts and the oil pan baffle.
    Fig 66: Removing Oil Pan Baffle
    G03244068Courtesy of FORD MOTOR CO.
  80. If necessary, remove the ridge at the top of the cylinder.
  81. CAUTION: The connecting rods and bearings are matched to the crankshaft journals. Make sure the components are marked and installed in the correct location.
    CAUTION: Each connecting rod and connecting rod cap are matched sets. They will fit together only one way. Mark them before removing.
    CAUTION: Do not damage the connecting rod and the connecting rod cap fractured joint face surface or engine damage can occur.
  82. Remove the piston.
    1. Make sure the piston being removed is at the bottom of the cylinder bore.
    2. Remove the bolts.
    3. Remove the connecting rod cap and the lower connecting rod bearing.
    4. CAUTION: Do not damage the cylinder wall when removing the piston.
      Fig 67: Removing Piston And Connecting Rod From Cylinder
      G03244069Courtesy of FORD MOTOR CO.
    5. Push the piston and the connecting rod out of the cylinder.
  83. Repeat the piston removal steps for the remaining pistons.
  84. CAUTION: The crankshaft main bearings and the main bearing caps are matched to the crankshaft journals. Make sure the components are marked for position.
    NOTE: The crankshaft main bearing located at the main bearing cap is the thrust bearing.
  85. Remove the four main bearing caps and lower crankshaft main bearings.
    1. Remove the stud bolts.
    2. Remove the main bearing cap and lower crankshaft main bearing.
      Fig 68: Removing Main Bearing Cap And Lower Crankshaft Main Bearing
      G03244070Courtesy of FORD MOTOR CO.
  86. Repeat the main bearing cap and the lower bearing removal steps for the remaining main bearing caps and the lower crankshaft main bearings.
  87. CAUTION: The crankshaft journals must be protected from damage when the crankshaft is removed.
    Fig 69: Removing Crankshaft
    G03244071Courtesy of FORD MOTOR CO.
  88. Remove the crankshaft.
  89. NOTE: For ease in reassembly, record the location of the crankshaft upper thrust bearing.
    Fig 70: Removing Upper Crankshaft Main Bearings And Crankshaft Upper Thrust Bearing
    G03244072Courtesy of FORD MOTOR CO.
  90. Remove the upper crankshaft main bearings and the crankshaft upper thrust bearing.
  91. Remove the camshaft bearings.
    Fig 71: Removing Camshaft Bearings
    G03244073Courtesy of FORD MOTOR CO.
  92. Remove the engine dynamic balance shaft bearings.
    Fig 72: Removing Engine Dynamic Balance Shaft Bearings
    G03244074Courtesy of FORD MOTOR CO.
  93. If equipped, remove the engine block heater.
    Fig 73: Removing Engine Block Heater
    G03244075Courtesy of FORD MOTOR CO.
  94. NOTE: For cleaning purposes, the plugs should be removed.
    Fig 74: Removing Cylinder Block Dowels, Oil Gallery Plugs And Jacket Plugs
    G03244076Courtesy of FORD MOTOR CO.
  95. If necessary, remove the following:
    1. The cylinder block dowels.
    2. The oil gallery plugs.
    3. The water jacket plugs.