LEMON Manuals: Even more car manuals for everyone: 1960-2025
Home >> Ford >> 2001 >> Focus LX, Automatic >> Repair and Diagnosis (Single Page) >> Accessories & Equipment >> Anti-Theft Systems >> Anti-Theft Systems - Active >> Symptom Tests >> Test A: No Communication With Central Security Module
April 5, 2026: LEMON Manuals is launched! Read the announcement.

Test A: No Communication With Central Security Module

NOTE: Central Security Module (CSM) may also be referred to as anti-theft/central locking module.
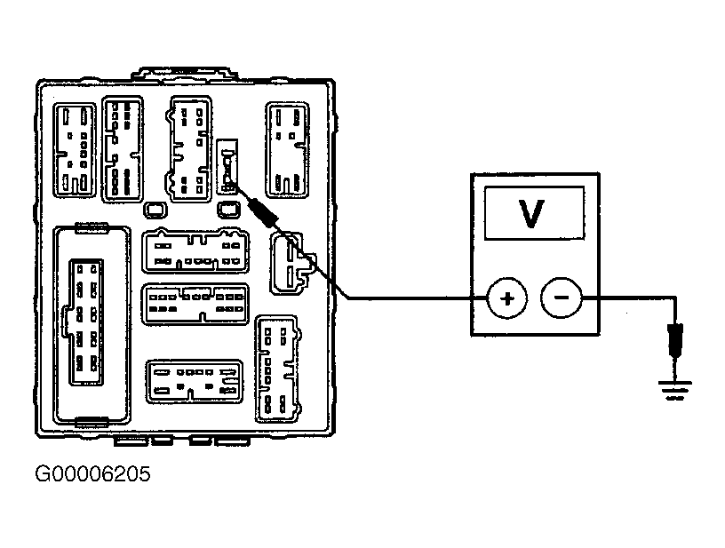
  1. Turn ignition off. Remove fuse No. 63 (20-amp) from back of central junction box. Turn ignition on. Measure voltage between central junction box fuse No. 63 terminal No. 1 and ground. See Fig 1 . If voltage is greater than 10 volts, go to next step. If voltage is less than 10 volts, repair power distribution circuit. See POWER DISTRIBUTION article in WIRING DIAGRAMS.
  2. Turn ignition off. Install fuse No. 63. Disconnect Central Security Module (CSM) connector C451. Turn ignition on. Measure voltage between CSM connector C451 terminal No. 1 (Orange/White wire) and ground. See Fig 2 . If voltage is greater than 10 volts, go to next step. If voltage is less than 10 volts, repair open or short in Orange/White wire. Retest system operation.
  3. Turn ignition off. Measure resistance between CSM connector C451 terminal No. 5 (Black wire) and ground. If resistance is 5 ohms or less, repair module communications concern. See MODULE COMMUNICATIONS NETWORK - FOCUS article. If resistance is greater than 5 ohms, repair open in Black wire. Retest system operation.
Fig 1: Testing Central Junction Box Fuse No. 63 (20-Amp) Terminal
G00006205Courtesy of FORD MOTOR CO.
Fig 2: Identifying Central Security Module Harness Connector C451 & C452 Terminals
G00006276Courtesy of FORD MOTOR CO.