LEMON Manuals: Even more car manuals for everyone: 1960-2025
Home >> Ford >> 2001 >> Mustang Base, 2D Convertible, Standard >> Repair and Diagnosis >> External Pages >> Different car >> Section 1130 (Component Testing) >> Component Testing >> Seat adjust switch, driver side front (14A701) >> Schematic
April 5, 2026: LEMON Manuals is launched! Read the announcement.

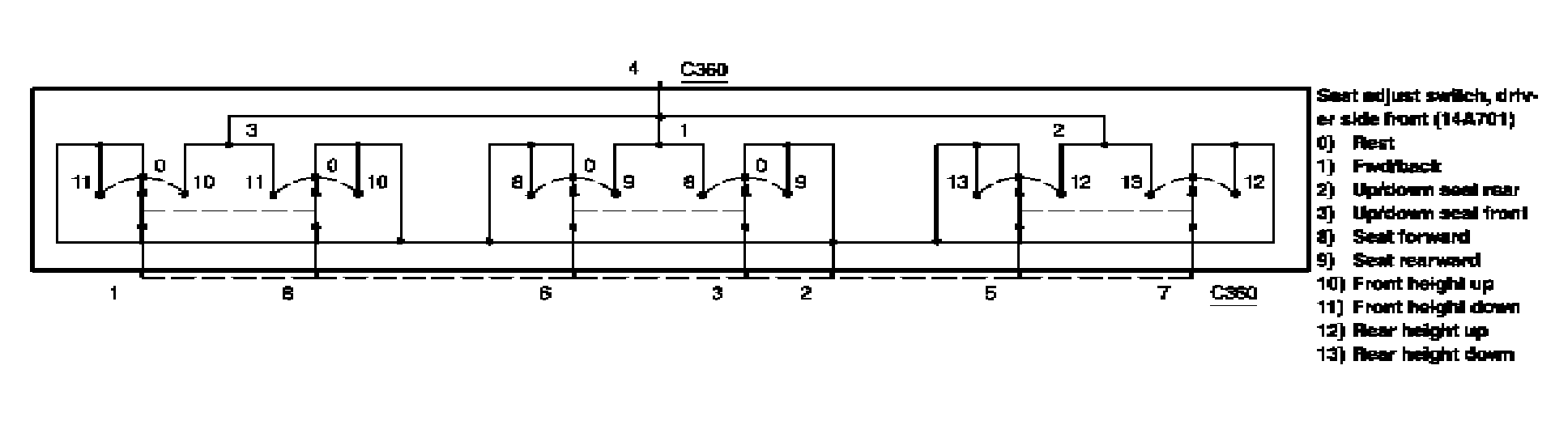
Seat adjust switch, driver side front (14A701): Schematic

WARNING: This page is about a different car, the 2005 Ford Mustang. However, it is still accessible from the selected car via links, so may be relevant.
Fig 1: Seat Adjust Switch, Driver Side Front (14A701) - Schematic
G03987859Courtesy of FORD MOTOR CO.