LEMON Manuals: Even more car manuals for everyone: 1960-2025
Home >> Ford >> 2002 >> Focus SVT >> Repair and Diagnosis >> External Pages >> Different car >> Section 588 (Cruise Control System) >> Diagnosis And Testing >> Speed Control >> Pinpoint Test A: The Speed Control Is Inoperative >> Pinpoint Test A: The Speed Control Is Inoperative
April 5, 2026: LEMON Manuals is launched! Read the announcement.

Pinpoint Test A: The Speed Control Is Inoperative

WARNING: This page is about a different car, the 2004 Mercury Mountaineer and 2004 Ford Explorer. However, it is still accessible from the selected car via links, so may be relevant.
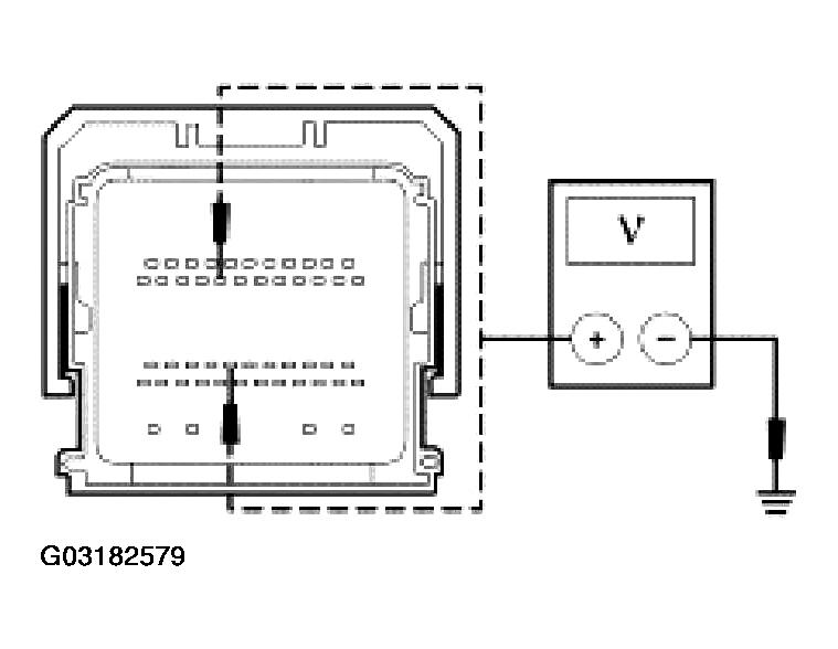
  1. A1 CHECK CIRCUITS 151 (LB/BK) AND 848 (DG/OG) FOR SHORT TO BATTERY 
    • Key in OFF position
    • Disconnect: PCM C175b.
    • Disconnect: Clockspring C218a.
    • Key in ON position.
    • Measure the voltage between the PCM C175b-19, circuit 151 (LB/BK), harness side and ground; and between the PCM C175b-30, circuit 848 (DG/OG), harness side and ground.
      Fig 1: Measuring Voltage Between PCM C175B-19 Circuit 151 (Lb/Bk) Harness Side And Ground
      G03182579Courtesy of FORD MOTOR CO.
    • Is any voltage present? 

    Yes 

    REPAIR the circuit in question. CLEAR the DTCs. REPEAT the self-test.

    No 

    GO to A2.

  2. A2 CHECK CIRCUITS 151 (LB/BK) AND 848 (DG/OG) FOR SHORT TO GROUND 
    • Key in OFF position
    • Measure the resistance between the PCM C175b-19, circuit 151 (LB/BK), harness side and ground; and between the PCM C175b-30, circuit 848 (DG/OG), harness side and ground.
      Fig 2: Measuring Resistance Between PCM C175B-19 Circuit 151 (Lb/Bk) Harness Side And Ground
      G03182580Courtesy of FORD MOTOR CO.
    • Are the resistances greater than 10,000 ohms? 

    Yes 

    GO to A3.

    No 

    REPAIR the circuit in question. CLEAR the DTCs. REPEAT the self-test

  3. A3 CHECK CIRCUITS 151 (LB/BK) AND 848 (DG/OG) FOR AN OPEN 
    • Measure the resistance between the PCM C175b-19, circuit 151 (LB/BK), harness side and the clockspring C218a-4, circuit 151 (LB/BK), harness side; and between the PCM C175b-30, circuit 848 (DG/OG), harness side and the clockspring C218a-5, circuit 848 (DG/OG), harness side.
      Fig 3: Measuring Resistance Between PCM C175B-19 Circuit 151 (Lb/Bk) Harness Side
      G03182581Courtesy of FORD MOTOR CO.
    • Are the resistances less than 5 ohms? 

    Yes 

    GO to A4.

    No 

    REPAIR the circuit in question. CLEAR the DTCs. REPEAT the self-test.

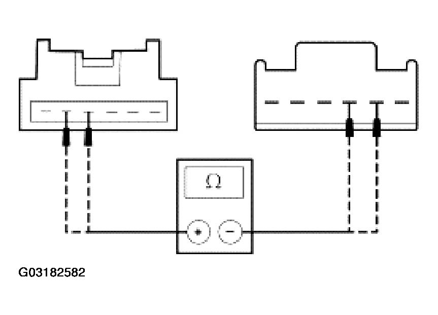
  4. A4 CHECK THE CLOCKSPRING 
    • Remove the driver air bag module. Refer to DUAL-STAGE DRIVER-SIDE AIR BAG MODULE .
    • Disconnect: Upper Clockspring.
    • Measure the resistance between the clockspring C218a-4, circuit 151 (LB/BK), (component side) and the upper clockspring pin 4, (component side); and measure the resistance between the clockspring C218a-5, circuit 848 (DG/OG), (component side) and the upper clockspring pin 5, (component side).
      Fig 4: Checking Clockspring Circuits 151 (LB/BK) And 848 (DG/OG)
      G03182582Courtesy of FORD MOTOR CO.
    • Are the resistances less than 5 ohms? 

    Yes 

    GO to A5.

    No 

    INSTALL a new clockspring. REFER To CLOCKSPRING . INSTALL the driver air bag. REFER to DUAL-STAGE DRIVER-SIDE AIR BAG MODULE . CLEAR the DTCs. REPEAT the self-test.

  5. A5 CHECK THE HORN SWITCH WIRING HARNESS 
    • Disconnect: Horn Switch Wiring Harness Connector.
    • Inspect the horn switch wiring harness for shorts, opens or any damage.
    • Is the horn switch wiring harness OK? 

    Yes 

    GO to A6.

    No 

    REPAIR or INSTALL a new horn switch wiring harness. INSTALL the driver air bag. REFER to DUAL-STAGE DRIVER-SIDE AIR BAG MODULE . CLEAR the DTCs. REPEAT the self-test.

  6. A6 CHECK THE SPEED CONTROL SWITCH 
    • Connect: Horn Switch Wiring Harness Connector.
    • Measure the resistance between the horn switch harness connector pin 4, harness side and the horn switch harness connector pin 5, harness side while pressing the following switches:

      Speed Control Switch 

      SPEED CONTROL SWITCH

      Speed Control Switch Resistance Value
      SET- Between 285 and 315 ohms
      SET+ Between 570 and 630 ohms
      RESUME Between 1,055 and 1,165 ohms
      ON Between 1,995 and 2,205 ohms
      OFF Less than 5 ohms
      Fig 5: Measuring Resistance Between Horn Switch Harness Connector Pin
      G03182583Courtesy of FORD MOTOR CO.
    • Are the speed control switch resistance values OK? 

    Yes 

    INSTALL the driver air bag. REFER to DUAL-STAGE DRIVER-SIDE AIR BAG MODULE . GO to A7.

    No 

    INSTALL a new speed control switch. REFER to SPEED CONTROL SWITCH - WITHOUT REMOTE AUDIO/CLIMATE CONTROLS  or SPEED CONTROL SWITCH - WITH REMOTE AUDIO/CLIMATE CONTROLS . INSTALL the driver air bag. REFER to DUAL-STAGE DRIVER-SIDE AIR BAG MODULE . CLEAR the DTCs. REPEAT the self-test.

  7. A7 CHECK THE DEACTIVATOR SWITCH CIRCUITRY 
    • Measure the voltage between the PCM C175b-7, circuit 307 (BK/YE), harness side and ground, while firmly pressing and releasing the brake pedal.
      Fig 6: Measuring Voltage Between PCM C175B-7 Circuit 307 (Bk/Ye) Harness Side And Ground
      G03182584Courtesy of FORD MOTOR CO.
    • Is the voltage 0 volts with the brake pedal firmly pressed, and greater than 10 volts with the brake pedal released? 

    Yes 

    GO to  A11.

    No 

    GO to A8.

  8. A8 CHECK THE DEACTIVATOR SWITCH 
    • Disconnect: Deactivator Switch C1025.
    • Measure the resistance between the deactivator switch pins (component side), while firmly pressing and releasing the brake pedal.
    • Fig 7: Measuring Resistance Between Deactivator Switch Pins
      G03182585Courtesy of FORD MOTOR CO.
    • Is the resistance greater than 10,000 ohms with the brake pedal firmly pressed, and less than 5 ohms with the brake pedal released? 

    Yes 

    GO to A9.

    No 

    INSTALL a new deactivator switch. REFER to SPEED CONTROL DEACTIVATOR SWITCH - WITHOUT STABILITY ASSIST  or SPEED CONTROL DEACTIVATOR SWITCH - WITH STABILITY ASSIST . CLEAR the DTCs. REPEAT the self-test.

  9. A9 CHECK CIRCUIT 307 (BK/YE) FOR AN OPEN 
    • Measure the resistance between the PCM C175b-7, circuit 307 (BK/YE), harness side and the deactivator switch C1025-1, circuit 307 (BK/YE), harness side.
      Fig 8: Measuring Resistance Between PCM C175B-7 Circuit 307 (Bk/Ye)
      G03182586Courtesy of FORD MOTOR CO.
    • Is the resistance less than 5 ohms? 

    Yes 

    GO to A10.

    No 

    REPAIR the circuit. CLEAR the DTCs. REPEAT the self-test.

  10. A10 CHECK CIRCUIT 10 (LG/RD) FOR POWER 
    • Measure the voltage between the deactivator switch C1025-2, circuit 10 (LG/RD), harness side and ground.
      Fig 9: Measuring Voltage Between Deactivator Switch C1025-2 Circuit 10 (Lg/Rd)
      G03182587Courtesy of FORD MOTOR CO.
    • Is the voltage greater than 10 volts? 

    Yes 

    GO to A11.

    No 

    REPAIR the circuit. CLEAR the DTCs. REPEAT the self-test.

  11. A11 CHECK FOR CORRECT PCM OPERATION 
    • Disconnect all the PCM connectors.
    • Check for:
      • corrosion
      • pushed-out pins
    • Connect all PCM connectors and make sure they are seated correctly.
    • Operate the system and verify the concern is still present.
    • Is the concern still present? 

    Yes 

    INSTALL a new PCM. REFER to POWERTRAIN CONTROL MODULE (PCM) for 4.0L or POWERTRAIN CONTROL MODULE (PCM) for 4.6L. CLEAR the DTCs. REPEAT the self-test

    No 

    The system is operating correctly at this time. Concern may have been caused by a loose or corroded connector. CLEAR the DTCs. REPEAT the self-test.